Regency TR-1

Regency TR-1 — первый в мире серийный полностью транзисторный радиоприёмник, поступивший в широкую продажу. Появился в магазинах в США 1 ноября 1954 года. TR-1 был спроектирован совместно компаниями Texas Instruments и IDEA. Руководство Texas Instruments предполагало, что экономичный карманный приёмник способен стать катализатором массового спроса на транзисторные устройства, создав устойчивый рынок для основного продукта компании. Планы были реализованы лишь отчасти — за первый год выпуска удалось продать около ста тысяч приёмников.
История
Инициатива
В 1951 году Western Electric начала выпуск первых серийных плоскостных биполярных транзисторов. Технология выращивания транзисторной p-n-p структуры из расплава (так называемая технология с тянутой базой), единственно освоенная в те годы, плохо подходила для массового выпуска из-за трудоёмкой ручной операции сварки проволочного вывода базы с базовым слоем кристалла транзистора. В ноябре 1953 года выпуск «выращенных» транзисторов начала основанная в 1930[1] году Texas Instruments[2]. Возглавлявший производство Texas Instruments Патрик Хаггерти полагал, что компания способна автоматизировать операцию сварки и наладить крупносерийный выпуск транзисторов[2]. Но рынка для этих транзисторов ещё не существовало: его предстояло создать[2]. В октябре 1953 года Texas Instruments подписал первый контракт на поставку 7500 транзисторов для слуховых аппаратов[2] — это направление сбыта не могло ни загрузить производство, ни создать интереса широкой публики[3], тем более, что на нём уже успешно действовала Raytheon[4]. Хаггерти предположил, что «локомотивом роста» отрасли может стать карманный транзисторный радиоприёмник[3]. Texas Instruments не располагала собственными мощностями для запуска производства приёмников, поэтому вначале Хаггерти попытался продать идею транзисторизации сторонним производителям приёмников (RCA, Philco, Emerson и другие). Все они ответили вежливым отказом — никто не пожелал связываться с новыми, мало предсказуемыми технологиями[3] и не увидел большого будущего карманных устройств[5].
В мае 1954 года Хаггерти в поисках возможного партнёра обратился к базировавшейся в Индианаполисе компании IDEA (англ. Industrial Development Engineering Associates, «Инженерная ассоциация промышленного развития») — поставщику антенных усилителей телевизионного сигнала, продававшихся через сеть Sears под маркой Silvertone. За громким названием компании стояли всего два человека — инженеры Джо Уивер (Joe Weaver) и Джон Пайз (John Pies). Во время Второй мировой войны они работали в филиале RCA в Индианаполисе, но в 1945 году RCA перевела этот филиал в Нью-Джерси[6]. Пайз и Уивер остались в Индианаполисе и основали собственный «гаражный» бизнеc, а в 1947 году они учредили корпорацию IDEA. Привлечённые со стороны менеджеры занялись администрацией и маркетингом, а Уивер и Пайз сосредоточились на разработке новых приборов[6]. Кроме антенного усилителя (своей самой удачной разработки), IDEA также разрабатывала радиостанции УКВ для полиции, выпускала стабилизаторы напряжения и безуспешно пыталась выйти на рынок телевизоров[6]. Президент IDEA Эдвард Тюдор (Edward Tudor) принял предложение Хаггерти с энтузиазмом, полагая, что в течение трёх лет партнёрство IDEA и Texas Instruments сможет продать двадцать миллионов приёмников[5].
Тюдор имел в виду потенциально огромный спрос на приёмники как средство оповещения об угрозе атомной войны. Шла холодная война, население регулярно тренировали учебными тревогами[5]. На шкалах настройки всех американских радиоприёмников были отмечены красными треугольниками частоты 640 и 1240 кГц — частоты станций гражданской обороны (при ядерном нападении все другие станции были обязаны прекратить вещание)[5]. Тюдор (по крайней мере, так он заявлял в публичных выступлениях) полагал, что карманные приёмники должны входить в неприкосновенный запас каждого частного бомбоубежища[3].
Разработка

Texas Instruments и IDEA не были первыми разработчиками транзисторных приёмников. Первую схему приёмника на трёх транзисторах опубликовал ещё в январе 1950 года Руфус Тёрнер[4]. В 1952 году инженеры Western Electric создали опытный приёмник-браслет на четырёх транзисторах и преподнесли его в подарок Честеру Гулду, создателю серии комиксов о Дике Трейси[4]. В 1953 году трёхтранзисторный приёмник-браслет сконструировали военные специалисты лаборатории войск связи США в Монмуте[4]. В том же году немецкая компания Intermetall представила в Дюссельдорфе прототип полностью транзисторного карманного приёмника на точечных транзисторах Герберта Матаре. Однако Intermetall не довёл эту разработку до серийного производства[7]. Наконец, в том же 1953 году, Emerson выпустила на рынок США гибридный лампово-транзисторный батарейный приёмник. На транзисторах в нём был выполнен выходной каскад усилителя низкой частоты[8].
Личная встреча Тюдора с представителями Хаггерти предположительно состоялась в Чикаго между 17 и 20 мая 1954 года[2]. Партнёры договорились начать массовый выпуск приёмников через четыре месяца. Вечером в пятницу 21 мая 1954 года вернувшийся в Даллас Хаггерти вызвал к себе радиоинженера Пола Дэвиса и поставил ему задачу: разработать полностью транзисторный макет карманного радиоприёмника диапазона длинных и средних волн (от 500 до 1 600 кГц) c чувствительностью на уровне ламповых приёмников[9]. Макет должен был быть готов в следующую среду, к визиту представителей IDEA[9]. Разработчики начали с закупки гибридного приёмника Emerson 747 — «донора» миниатюрных конденсатора переменной ёмкости и динамика[9]. Межкаскадных трансформаторов требуемого миниатюрного размера в то время в продаже просто не существовало — их пришлось изготовить и испытать самостоятельно[9]. Многие экземпляры серийно выпускавшихся тогда транзисторов Texas Instruments не обеспечивали достаточного усиления на высокой частоте, поэтому разработчики подбирали среди многих транзисторов из серии наиболее «высокочастотные» экземпляры. В назначенный срок макет был готов, а спустя ещё неделю Хаггерти поручил Дэвису «упаковку» макета в габариты карманного приёмника. Эта работа, включая изготовление новых сверхминиатюрных трансформаторов, заняла два дня[9].
Весной 1954 Хаггерти предполагал, что новый радиоприёмник станет средством продвижения новейших кремниевых транзисторов, однако Texas Instruments не успела наладить их выпуск к назначенному сроку, поэтому будущий Regency TR-1 использовал только германиевые транзисторы[10]. В прототипе Дэвиса было семь транзисторов, один из которых работал в диодном включении — в серийном изделии его должен был заменить диод[9]. Ведущий специалист IDEA Ричард Коук (Richard Koch) переработал первоначальную схему, предложенную TI — сократил число очень дорогих тогда транзисторов с шести до четырёх, чтобы цена изделия не оказалась чрезмерной. Коук удалил один транзистор, объединив функции гетеродина и смесителя в однотранзисторной схеме, а второй — заменив двухтранзисторный усилитель низкой частоты на однотранзисторный. Это вызвало недовольство в Texas Instruments, там рассчитывали, что новый продукт будет полностью их разработкой (позже IDEA уступила TI патент на схему за 25 тыс. долларов в счет покрытия своих долгов перед TI). Патент США на схемное решение TR-1 был выдан Коуку в июне 1959 г.
Дизайн приёмника за шесть недель выполнила фирма Painter, Teague and Petertil. Впоследствии приемник заслужил награду Американского общества промышленного дизайна и был представлен на выставке американского искусства и дизайна в Париже в 1955 году.
Маркетинг

18 октября 1954 IDEA и Texas Instruments объявили о предстоящем начале выпуска первого транзисторного приёмника под торговой маркой Regency. В полном соответствии с договором Хаггерти и Тюдора производство модели TR-1 началось 25 октября, а продажи — 1 ноября. Вначале TR-1 продавался только в дорогих магазинах Нью-Йорка и Лос-Анджелеса[11]. Размеры приёмника позволяли положить его в карман дорогих мужских рубашек Arrow, но не в меньшие по размеру карманы дешёвых рубашек[12]. TR-1 первоначально предлагался в корпусе одного из четырёх цветов — чёрного, слоновой кости, мандариново-красного и светло-серого. Яркие, вызывающие расцветки, в том числе с перламутровым отливом, добавились позже[12]. В соответствии с духом времени в руководстве пользователя TR-1 были подробные инструкции о порядке действия по сигналу военной тревоги[3].

Цену приёмника установили в 49,95 доллара (в корпусе перламутровых оттенков — 54,95 доллара[13]). Отдельно продавались кожаный чехол (3,95 долл.) и миниатюрный наушник (7,50 долл.). 22,5-вольтовая батарейка Regency 215 стоила 1 доллар 25 центов. Ни Texas Instruments, ни IDEA не получили сколько-нибудь существенной прибыли на продаже TR-1 — приёмник продавался почти по себестоимости. Только комплект транзисторов стоил 10 долларов; малогабаритные громкоговоритель, выходной трансформатор и другие детали тоже обходились гораздо дороже обычных. В 1980 году Хаггерти публично признал, что относительно низкая цена TR-1 была стратегической ошибкой Texas Instruments[12]. Однако для потребителя приёмник был отнюдь не дёшев: современные TR-1 типовые пятиламповые приёмники (так называемые All American Five) продавались по 15 долларов, а хороший переносной ламповый приёмник тогда можно было купить за 30–40 долл.[14][15][16] В пересчёте по индексу потребительских цен на 2011 год цена TR-1 составляла около 410 долларов[17]. Одним из первых клиентов Regency стал президент IBM Томас Дж. Уотсон-младший, закупивший несколько сотен приёмников. Уотсон поставил перед IBM цель — полностью перейти на транзисторы к 1 июня 1958 года. Каждый раз, когда он слышал возражения инженеров «старой закалки», он дарил несогласным Regency TR-1[10].
Отзывы прессы на новинку были противоречивыми. Наряду с восторженными оценками многообещающего технологического прорыва TR-1 называли «игрушкой» и утверждали, что, кроме размеров, у него нет других преимуществ. По чувствительности и избирательности, а особенно по качеству звуковоспроизведения TR-1 действительно сильно уступал портативным ламповым приёмникам большего размера. Влиятельный журнал Consumer Reports особенно отмечал высокий уровень шумов и признаки самовозбуждения на некоторых частотах, и рекомендовал воздержаться от покупки[18]. Однако время работы TR-1 от одного комплекта батарей составляло от 20 до 30 часов, тогда как у самых экономичных ламповых приёмников оно не превышало пяти часов[5]. С учётом меньшей стоимости батареи выигрыш в стоимости работы от батарей (до примерно пяти центов за час) был ещё больше[5]. Всего за один год продаж было продано больше 100 тысяч экземпляров первой модели. Многомиллионные планы Тюдора не реализовались — как из-за технического несовершенства TR-1, так и из-за тогдашних музыкальных предпочтений публики[10]. Спустя несколько лет вкусы изменились, и приёмники второго поколения продавались миллионами — при лишь немного лучшем качестве звучания[10].
Вскоре после TR-1 появился слегка модернизированный Regency TR-1G[19]. Он отличался в основном формой и цветом ручки настройки. В 1956 году вышла модель TR-4[20], тоже четырёхтранзисторная и внешне почти такая же, как TR-1, но с питанием от стандартной 9-вольтовой батарейки. TR-4 продавался по 29,95 долл. В 1958 г. последовали семитранзисторные модели TR-5C[21] и TR-7[22], а также миниатюрный XR-2A[23] на двух транзисторах. В эти годы начался широкий импорт в США гораздо более дешёвой японской продукции, и торговая марка Regency под напором такой конкуренции в 1960 году ушла с рынка транзисторных приёмников[24].
Regency TR-1 продавался также под брендом известной часовой фирмы Bulova. Приёмник назывался Bulova 250, получил особую изящную упаковку и продавался в ювелирных магазинах вместе с основной продукцией Bulova.[25] Кроме того, несколько тысяч приемников, полностью повторяющих конструкцию TR-1, выпустила в 1955 г. под своей маркой чикагская компания Mitchell Manufacturing Co. В отличие от оригинала, корпус был сделан из жесткой кожи. Шасси, вероятно, были производства IDEA.[26]
Кооперация
Ряд комплектующих для приёмника поставляли сторонние фирмы[13]:
- диод — Raytheon, Thungsol (Ньюарк, Нью-Джерси);
- конденсаторы — International Electronics, Inc. (Нашвилл, Теннесси), Erie Electronics (Эри, Пенсильвания), Centralab (Милуоки, Висконсин);
- громкоговоритель — Jensen (Чикаго, Иллинойс);
- трансформаторы ПЧ — Vokar (Декстер, Мичиган);
- регулятор громкости — Chicago Telephone Supply (Элкарт, Индиана);
- переменный конденсатор настройки — Radio Condenser Co. (Камден, Нью-Джерси);
- печатная плата — Croname (Чикаго, Иллинойс), Insulated Circuits, Inc. (Вест-Колдуэлл, Нью-Джерси);
- корпус — Argus Plastics (Индианаполис, Индиана).
Конкуренты
General Electric 677, США, 1955
Sony TR-52, Япония, 1955, — неудачный предшественник модели TR-55, на рынок не попал
Emerson Model 888 «Pioneer», США, 1957
Telefunken Partner, ФРГ, 1957
Akkord Peggie, ФРГ, 1957
Grundig Musicboy, ФРГ, 1960
Sternchen («Звёздочка»), ГДР, 1960
Motorola X-14 и X-15, США, 1960- «Нева», СССР, 1960
Вслед за Regency вышли на рынок и другие производители. Американская компания Zenith в начале 1955 г. выпустила свою модель Royal 500 — тоже карманного формата, на семи транзисторах, с 6-вольтовым питанием, но с навесным, а не печатным монтажом, по цене 75 долл.[27] В июле 1955 г. компания Raytheon предложила восьмитранзисторный 8TP большего размера в солидном деревянном, отделанном кожей футляре за 79,95 долл.[28] В конце года появился первенец фирмы RCA — 7-BT-9J на шести транзисторах, с 9-вольтовым питанием, за 65 долл.[29]
В том же 1955 году появился первый японский приёмник — Sony TR-55[30], в марте 1957 г. в США начались продажи 6-транзисторного Sony TR-63 по цене 39,95 долл.[31][32] В Великобритании первый транзисторный приёмник выпустила фирма Pye в 1956 г. (модель Pam 710)[33] по цене 22 фунта 14 шиллингов 10 пенсов плюс налог 8 фунтов 15 шиллингов 3 пенса[34]. В Западной Германии первым стал Telefunken TR1 (1956 г.)[35], но в продажу он не поступал; коммерческие приемники появились в 1957 году — Akkord Peggie (189 марок)[36] и Telefunken Partner (169 марок)[37]. Во Франции — Fanfare Transivox выпущен в 1956 г.[38] В ГДР предприятие Stern-Radio Berlin начало производить 6-транзисторную модель Sternchen в 1960 г.[39]
В СССР в это время изготавливались опытные образцы и мелкие серии (до нескольких тысяч штук) транзисторных приёмников[40]. Промышленность к 1955 году уже выпускала германиевые диоды и транзисторы — точечные (С1 — С4) и плоскостные (П1, П2),[41] и журнал «Радио» опубликовал статью с описанием практической конструкции приёмника прямого усиления на транзисторах для радиолюбителей.[42] Первым промышленным образцом был, вероятно, портативный приёмник «Дорожный» (разработан в Институте радиовещательного приёма и акустики им. А. С. Попова в 1955 г., опытное производство — на московском заводе «Красный Октябрь» — 1956 г.)[43]. Среди опытных образцов была такая интересная разработка, как «Спутник» с солнечной батареей (1957)[44]. В 1957—1958 гг. Воронежский радиозавод выпустил серией более 3000 штук приемник «Сюрприз» с розничной ценой 47 руб. 35 коп. (в масштабе цен после реформы 1961 г.)[45]. В 1958 году на Всемирной выставке в Брюсселе демонстрировался приёмник «Прогресс» того же завода и получил золотую медаль выставки.[46] Первым крупносерийным приёмником стала «Атмосфера» (1959 г.), выпускавшаяся одновременно на трех заводах. С 1959 г. фабрика культтоваров Центросоюза выпускала радиоконструктор «Пионер ЦС-1» — набор деталей для сборки карманного четырёхтранзисторного приемника прямого усиления.[47] Первый карманный приёмник, выпускавшийся большой серией, появился в 1960 г. («Нева» ленинградских заводов «Радиоприбор» и ТЭМП)[48].
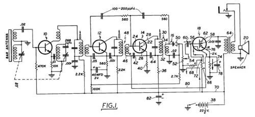
Конструкция и характеристики


TR-1 — супергетеродин с автономным питанием, предназначенный для приёма передач с амплитудной модуляцией в диапазоне средних волн. Собран на четырёх германиевых транзисторах производства Texas Instruments и одном полупроводниковом диоде производства Raytheon или Tung-Sol. Использованы плоскостные транзисторы трёх разных типов, изготовленные методом выращивания p-n-переходов из расплава[2]. Эти транзисторы имели низкий коэффициент усиления (β ≤ 20) и граничную частоту усиления всего в несколько мегагерц[49]. Эти скромные показатели достигались лишь при относительно высоком коллекторном напряжении, поэтому в качестве источника питания была выбрана батарея типоразмера 215[50] на номинальное напряжение в 22,5 вольта[49].
Приёмник собран в корпусе из цветного полистирола размером 127×76,2×31,75 мм (5×3×1¼ дюйма), масса — 340 г (12 унций). Две половинки корпуса соединяются защёлками. Чтобы заменить батарею, нужно разъединить половинки корпуса, а сделать это аккуратно не так просто, поэтому у многих сохранившихся экземпляров корпус поврежден. Органов управления два — ручка настройки с нанесенной прямо на ней шкалой и регулятор громкости, совмещенный с выключателем.
Приёмник собран на печатной плате. Элементы, размещённые на печатной плате, скомпонованы линейно (от входного каскада на VT1 к выходному трансформатору Тр4), полукольцом вокруг выреза под магнитную систему громкоговорителя[51]. Корпуса транзисторов каждого каскада и расположенные рядом с ними конденсаторы окрашены в особые цвета для упрощения сборки платы[2]. Все четыре транзистора включены по схеме с общим эмиттером с трансформаторными межкаскадными связями. Громкоговоритель, потенциометр регулятора громкости, конденсатор переменной ёмкости и магнитная антенна на ферритовом стержне крепятся непосредственно к корпусу и соединены с платой навесным монтажом[51].
Входной сигнал принимается магнитной антенной и поступает на преобразователь частоты (гетеродин и смеситель) на транзисторе VT1 (модель TI223[52]). Настройка входного контура и гетеродина — сдвоенным конденсатором переменной ёмкости с воздушным диэлектриком. Затем сигнал промежуточной частоты (ПЧ) поступает на двухкаскадный усилитель ПЧ на VT2, VT3 (модель TI222[52]), и далее на диодный детектор. В схеме три резонансных LC-контура промежуточной частоты (они служат коллекторной нагрузкой транзисторов VT1, VT2, VT3), настроенных на частоту 262 кГц[53]. Относительно низкая промежуточная частота (также применявшаяся в ламповых автомобильных приёмниках) была выбрана, чтобы добиться приемлемого усиления от низкочастотных транзисторов ценой ухудшения избирательности по зеркальному каналу[54]. Для компенсации относительно высокой проходной ёмкости транзисторов (около 50 пФ) в каждом каскаде ПЧ предусмотрена RC-цепь положительной обратной связи нейтродинного типа[54]. Петля автоматической регулировки усиления (АРУ) охватывает оба каскада ПЧ. Сигнал АРУ, снятый с выхода детектора и пропущенный через фильтр нижних частот, задаёт напряжение смещения VT2, тем самым изменяя усиление первого каскада ПЧ[54].
Выходной каскад на транзисторе VT4 (модель TI210[52]) построен по однотактной схеме усилителя класса А с трансформаторной нагрузкой, повторяющей традиционную ламповую схемотехнику. Постоянное напряжение на эмиттере VT4 используется для задания смещения транзистора VT3. Сигнал с выходной обмотки трансформатора Tр4 может воспроизводиться либо встроенным громкоговорителем с сопротивлением звуковой катушки 12…15 Ом, либо миниатюрным телефоном (наушниками).
Потребляемый ток при приёме местных станций — около 4 мА, время работы от одной батареи — 20…30 часов в зависимости от условий приёма. Приёмник сохраняет работоспособность при снижении напряжения батареи до 15 В, ниже этого порога наступает самовозбуждение. Чувствительность, избирательность и выходная мощность в техническом описании не указаны; в фирменной брошюре сказано, что громкость «соответствует размерам громкоговорителя»[55].
След в культуре
%252C_Has_A_TR-1G_Serial_Number_But_A_TR-1_Tuning_Dial_(4765154477).jpg)
Кинопродюсер Майкл Тодд, снимавший фильм «Вокруг света за 80 дней» как раз в то время, когда TR-1 появился на рынке, заказал несколько десятков приемников в особом подарочном оформлении для участников съемочной группы. Приемники были в футляре, оформленном в виде томика Жюля Верна с золотым обрезом, на обратной стороне крышки «переплёта» золотом оттиснуто имя владельца. Эти приёмники сейчас считаются большой коллекционной ценностью[56].
Рок-музыкант Роджер Макгуинн (The Byrds) получил TR-1G в подарок в 1955 г. на 13-летие и позже рассказывал: «Это заменило мне игры… Трудно сказать, занимался бы я тем, чем занимаюсь сейчас, если бы не транзисторный приёмник. Я обожал его, это была моя любимая вещь. Думаю, именно ему рок-н-ролл обязан своим величием»[56].
Приёмник Regency TR-1 изображен на почтовой марке Австралии из серии 1998 года, посвященной хитам австралийского рок-н-ролла (№ 1662 по каталогу Scott)[57].
В 2005 году обозреватель BBC Джон Оусби привел TR-1 и iPod как примеры «простой элегантности» дизайна, к тому же очень близкие по стилю[56].
TR-1 сейчас сто́ит на интернет-аукционах примерно от 200 до 1000 долл. в зависимости от состояния и цвета корпуса. Приёмники цвета слоновой кости и светло-серые встречаются чаще всего; особенно редки и дороги перламутрово-розовые и светло-голубые, их цена может доходить до 4000 долл.[58] Ещё один очень редкий вариант — с прозрачной задней половинкой корпуса[59]. Единичные демонстрационные экземпляры были изготовлены в полностью прозрачном корпусе, сохранились по крайней мере два[60][61].
См. также
Примечания
- ↑ Investor FAQs. Texas Instruments. Дата обращения: 29 января 2007. Архивировано из оригинала 27 января 2007 года.
- 1 2 3 4 5 6 7 Burgess, 2011.
- 1 2 3 4 5 Fernandez, 2007, p. 98.
- 1 2 3 4 Schiffer, 1991, p. 174.
- 1 2 3 4 5 6 Schiffer, 1991, p. 176.
- 1 2 3 Fernandez, 2007, p. 96.
- ↑ Riordan, 2005, p. 49.
- ↑ Emerson 747 (англ.). Дата обращения: 12 сентября 2018. Архивировано 5 декабря 2014 года.
- 1 2 3 4 5 6 Davis, 2003.
- 1 2 3 4 Schiffer, 1991, p. 178.
- ↑ Fernandez, 2007, p. 99.
- 1 2 3 Fernandez, 2007, p. 100.
- 1 2 Steve Reyer. Regency TR-1 (англ.). Дата обращения: 12 сентября 2018. Архивировано из оригинала 27 июня 2012 года.
- ↑ Реклама General Electric, 1951. Дата обращения: 27 октября 2017. Архивировано 3 сентября 2014 года.
- ↑ Реклама Crosley, 1953. Дата обращения: 2 апреля 2012. Архивировано 9 января 2012 года.
- ↑ Реклама Motorola, 1954. Дата обращения: 27 октября 2017. Архивировано 11 сентября 2014 года.
- ↑ In 2011, the relative worth of $49.00 from 1954 (англ.). MeasuringWorth. Дата обращения: 22 июля 2012. Архивировано из оригинала 5 августа 2012 года.
- ↑ Schiffer, 1991, p. 177.
- ↑ Sarah’s Transistor Radios. Regency TR-1G. Дата обращения: 1 ноября 2011. Архивировано из оригинала 3 июля 2011 года.
- ↑ Sarah’s Transistor Radios. Regency TR-4. Дата обращения: 1 ноября 2011. Архивировано из оригинала 3 июля 2011 года.
- ↑ Sarah’s Transistor Radios. Regency TR-5C. Дата обращения: 1 ноября 2011. Архивировано из оригинала 3 июля 2011 года.
- ↑ Sarah’s Transistor Radios. Regency TR-7. Дата обращения: 1 ноября 2011. Архивировано из оригинала 3 июля 2011 года.
- ↑ Sarah’s Transistor Radios. Regency XR-2A. Дата обращения: 1 ноября 2011. Архивировано из оригинала 3 июля 2011 года.
- ↑ Radio Catalog for the radio manufacturer Regency (brand of I.D.E.A.). Дата обращения: 2 апреля 2012. Архивировано 5 декабря 2014 года.
- ↑ Radiomuseum. 250 Bulova Watch Corp.; Woodside (NY). Дата обращения: 27 ноября 2022. Архивировано 27 ноября 2022 года.
- ↑ MITCHELL 1103 (REGENCY TR-1). Дата обращения: 27 ноября 2022. Архивировано 27 ноября 2022 года.
- ↑ Zenith Royal 500 seven transistor radio (1955) (англ.). Дата обращения: 12 сентября 2018. Архивировано 31 августа 2011 года.
- ↑ 8TP series transistor radio (1955) (англ.). Дата обращения: 12 сентября 2018. Архивировано 18 сентября 2012 года.
- ↑ RCA VICTOR 7-BT-9J «Transistor Six» Radio (1955) (англ.). Дата обращения: 12 сентября 2018. Архивировано 31 марта 2010 года.
- ↑ TR-55 (англ.). Sony. Дата обращения: 12 сентября 2018. Архивировано 14 июля 2014 года.
- ↑ TR-63 (англ.). Sony. Дата обращения: 12 сентября 2018. Архивировано 4 ноября 2011 года.
- ↑ Sony TR-63 Transistor Radio Teardown (англ.). iFixit (13 октября 2009). Дата обращения: 12 сентября 2018. Архивировано 31 августа 2011 года.
- ↑ Wolverhampton History & Heritage Website. The History Of Radio. Архивировано 7 ноября 2011 года.
- ↑ Vintage Technology. The First British Portable Transistor Radio — the Pam 710. Дата обращения: 1 ноября 2011. Архивировано из оригинала 13 апреля 2012 года.
- ↑ Radiomuseum. The transistor pocket receiver Telefunken TR1 Архивная копия от 14 октября 2011 на Wayback Machine (англ.)
- ↑ Radiomuseum. Peggie (57). Дата обращения: 30 ноября 2011. Архивировано 13 октября 2011 года.
- ↑ Partner I Normalserie. Дата обращения: 2 апреля 2012. Архивировано 14 октября 2011 года.
- ↑ Transistor History. A History of French Transistors by Mark Burgess. Дата обращения: 1 ноября 2011. Архивировано 13 октября 2011 года.
- ↑ Radiomuseum. Sternchen 57/69TT. Дата обращения: 30 ноября 2011. Архивировано 14 октября 2011 года.
- ↑ Отечественная радиотехника XX века. Радиоприёмники и радиолы на полупроводниковых приборах. Архивировано 10 ноября 2011 года.
- ↑ 60 лет отечественному транзистору. Дата обращения: 28 ноября 2014. Архивировано 6 сентября 2016 года.
- ↑ Цыкин Г. Радиоприёмник на полупроводниковых триодах.//«Радио», 1955, № 5, с. 42-44
- ↑ Отечественная радиотехника XX века. Портативный транзисторный радиоприёмник «Дорожный». Архивировано 12 мая 2012 года.
- ↑ Портативный транзисторный радиоприёмник «Спутник» Архивировано 12 мая 2012 года.
- ↑ Портативный транзисторный радиоприёмник «Сюрприз» Архивировано 12 мая 2012 года.
- ↑ Портативный транзисторный радиоприёмник «Прогресс» Архивировано 12 мая 2012 года.
- ↑ Радиоконструктор (карманный радиоприёмник) «Пионер ЦС-1». Дата обращения: 11 апреля 2016. Архивировано 24 апреля 2016 года.
- ↑ Первый в СССР карманный транзисторный радиоприёмник «Нева» Архивировано 12 мая 2012 года.
- 1 2 Lee, 2004, p. 271.
- ↑ Такие батареи известны под наименованиями 15F20, 215, 412, 412A, A412, B122, BA 261/U, BLR-122, BLR122, M122, M215, M2152, MN122, PX72, U15, UG015, V72PX, VS084. Они применялись в измерительных приборах, производятся до сих пор в ограниченном объёме и стоят недешево, см. Архивированная копия. Дата обращения: 7 февраля 2015. Архивировано 4 декабря 2014 года..
- 1 2 Burgess, 2011, См. фото печатной платы.
- 1 2 3 Типы транзисторов приводятся по Burgess, 2011. Перечень элементов в патенте на принципиальную схему (стр. 3) содержит очевидную ошибку — вместо типа транзистора в третьей строке перечня указано значение сопротивления.
- ↑ TR-1, The First Transistor Radio Receiver. Technical Data And Service Notes. — Regency Div. I.D.E.A. Inc., Indianapolis, Ind., P. 2
- 1 2 3 Lee, 2004, p. 272.
- ↑ TR-1, The First Transistor Radio Receiver. Technical Data And Service Notes. — Regency Div. I.D.E.A. Inc., Indianapolis, Ind. P. 3. Дата обращения: 28 марта 2012. Архивировано 29 февраля 2012 года.
- 1 2 3 Regency TR-1 Transistor Radio History. Did You Know… Дата обращения: 31 октября 2011. Архивировано 17 февраля 2012 года.
- ↑ Australian Rock’n’Roll stamps #9. the Master Apprentices — Turn up your radio
- ↑ Collecting & Restoring Transistor Radios (50s & 60s) : eBay Guides (недоступная ссылка)
- ↑ Regency TR-1 Clear Back Model. Дата обращения: 27 марта 2012. Архивировано из оригинала 21 августа 2011 года.
- ↑ National Museum of American History’s Chip Collection. 1987.0487.266 Texas Instruments Collection. Transistor Radio. Дата обращения: 28 марта 2012. Архивировано 7 сентября 2010 года.
- ↑ Regency TR-1 1954. Дата обращения: 28 марта 2012. Архивировано 22 июля 2012 года.
Литература
- Burgess, M. Early Semiconductor History of Texas Instruments (англ.). — 2011. — Vol. 3.
- Davis, P. The Breakthrough Breadboard Feasibility Model: The Development of the First All-Transistor Radio (англ.) // Southwestern Historical Quarterly. — 2003. — Vol. 97, no. 1. — P. 56-80. — ISSN 0038-478X. Архивировано 16 июня 2009 года.
- Fernandez, Megan. The Ipod Father (англ.) // Indianapolis Monthly. — 2007. — Vol. 3. — P. 94-102. — ISSN 0899-0328.
- Lee, T. C. The Design of CMOS Radio-Frequency Integrated Circuits (англ.). — Cambridge University Press, 2004. — P. 271-272. — 797 p. — ISBN 9780521835398.
- Riordan, M. How Europe missed the transistor (англ.) // IEEE Spectrum. — 2005. — P. 47-49. — ISSN 0018-9235.
- Schiffer, M. B. The portable radio in American life (англ.). — University of Arizona Press, 1991. — P. 170-178. — 259 p. — ISBN 9780816512843.
- Приемник без ламп // Техника - молодежи. — 1956. — № 4. — С. 17.
Ссылки
- Regency TR-1 Transistor Radio History — краткая история TR-1
- TR-1, The First Transistor Radio Receiver. Technical Data And Service Notes. — Regency Div. I.D.E.A. Inc., Indianapolis, Ind. — техническое описание TR-1
- How to operate your Regency TR-1G transistor pocket radio receiver — инструкция по пользованию TR-1G
- Патент США № 2 892 931 от 30 июня 1959 г. на транзисторное радиоприёмное устройство, выданный сотруднику IDEA Ричарду Коуку (Richard C. Koch)
- Regency’s Development of the TR-1 Transistor Radio
- 1954-2004. The TR-1’s Golden Anniversary
- Michael Jack. The Big World of Little Radios.//Monitoring Times, Volume 28, No. 12, December 2009, P. 8-12 — статья о ранних транзисторных приёмниках.
- Regency TR-1: The First Transistor Radio на YouTube
- Assembling Transistor Radios 1955 — сборка TR-1 на YouTube
- Роджер Макгуинн показывает свою коллекцию карманных приёмников и называет TR-1 «айподом своего времени»