Ономарх
| Ономарх | |
|---|---|
| др.-греч. Ονομαρχος | |
|
стратег-автократор Фокидского союза
|
|
| 355/354 год до н. э. — 353/352 год до н. э. | |
| Предшественник | Филомел |
| Преемник | Фаилл |
|
|
|
| Рождение |
неизвестно Элатея, Фокида |
| Смерть |
353/352 год до н. э. Крокусово поле, Фессалия |
| Отец | Евфикрат |
| Сражения | Битва на Крокусовом поле |
Ономарх (др.-греч. Ονομαρχος) — древнегреческий военачальник и политический деятель середины IV века до н. э.
В 356 году до н. э. Ономарх стал соправителем стратега-автократора Фокидского союза Филомела, при котором фокидяне захватили священный центр Древней Греции Дельфы, что стало началом Третьей Священной войны.
После гибели Филомела в 355/354 году до н. э. Ономарх возглавил Фокидский союз. Он провёл несколько успешных военных кампаний в Беотии, Дориде, Локриде и Фессалии, во время одной из которых разбил войско македонского царя Филиппа II. На пике своего могущества в 353 году до н. э. Ономарх стал одним из наиболее влиятельных правителей Древней Греции. Однако, в 352 году до н. э. его войско было разбито Филиппом II в битве на Крокусовом поле, а сам Ономарх погиб.
Согласно современным оценкам, Ономарх был крупным военачальником и государственным деятелем, который сумел создать крепкий, пользующийся народной поддержкой, авторитарный режим. Главным его несчастьем, по мнению К. Ю. Белоха, стало противостояние с ещё более талантливым правителем Филиппом II. Историк подчёркивал, что образ Ономарха-тирана и святотатца дошёл до современников в интерпретации его победителей и, соответственно, может быть недостоверным.
Биография
Происхождение. Ранние годы
В античных источниках приведены две версии о происхождении Ономарха. Аристотель писал, что Ономарх был сыном Евфикрата[1] из Элатеи[2]. Диодор Сицилийский назвал Ономарха братом Филомела и, соответственно, сыном Феотима[3]. При сравнении обеих версий В. С. Фергюсон отдавал предпочтение информации из трудов Аристотеля. По мнению историка, Диодор назвал Ономарха «братом» Филомела не в контексте кровного родства, а чтобы подчеркнуть их близкие взаимоотношения[4].
Ономарх был одним из лидеров антифиванской партии Фокиды. В 374 или 371 году до н. э. он руководил обороной родного города Элатея во время осады фиванским войском под командованием Пелопида[5][6][4].
В 356 году до н. э. беотийцы и фессалийцы через Совет амфиктионов Дельфийского святилища обвинили ряд влиятельных фокидян в святотатстве — в возделывании посвящённой богу Аполлону земли. Осуждённых фокидян, среди которых был и Ономарх, приговорили к огромному штрафу и конфискации имущества в случае неуплаты. Хотя решение амфиктионов касалось не всех фокидян, а только некоторых граждан, оно вызвало резкое возмущение в Фокиде. На союзном собрании было принято решение назначить стратегом-автократором с неограниченными полномочиями Филомела, который призвал фокидян установить свой контроль над святилищем. Помощником и соправителем Филомела стал Ономарх. Остаётся неясным, было ли его назначение проведено постановлением Народного собрания или же Филомел сам назначил Ономарха своим заместителя[2][7].
Филомел захватил Дельфы и начал готовиться к предстоящей войне. В 355 или 354 году до н. э. в битве при Неоне фокидяне и пришедшие к ним на помощь пелопоннесские ахейцы были разбиты войском под командованием фиванца Паммена. Сам Филомел погиб или покончил жизнь самоубийством. Потери фиванцев и фессалийцев, предположительно, были также значительны, так как Паммен не развил успех, отказался от преследования отступающего противника и вернулся в Беотию[8][9][10][11][12][13][14].
На посту стратега-автократора Фокиды
Поражение при Неоне не сломило решимости фокидян. На Народном собрании новым стратегом-автократором был избран Ономарх, соправителем которого стал его брат Фаилл. Совершив очередной «заём» в Дельфийском святилище, Ономарх собрал вдвое большее, чем было у Филомела, войско[15]. Часть средств пошло на «дипломатические нужды». Согласно Павсанию, фокейцы знали о влиянии на спартанского царя Архидама III его супруги Дейники и предварительно обеспечили её поддержку союза между Спартой и Фокидой богатыми подарками. Согласно Диодору Сицилийскому, данный эпизод относится ко времени правления Филомела[16]. Также, субсидии ферским тиранам Ликофрону и Пифолаю, которые вели войну против Фессалийского союза, привели к их усилению и сковыванию фессалийцев, которые физически не могли сражаться на два фронта[17]. Летом 354 года до н. э. Ономарх начал военную кампанию против северных локров и фессалийцев. Вначале ему сопутствовал успех. Ономарх захватил два стратегически важных пункта — Амфиссу и Фроний, жителей которого ради устрашения продал в рабство. Также он покорил Альпон и Никею рядом с Фермопильским ущельем, тем самым получив контроль над проходом из Центральной в Северную Грецию, что заставило локров и фессалийцев прекратить военные действия. После этого Ономарх разорил Дориду, а затем вторгся в Беотию, захватил Орхомен и направился к Херонее. Однако беотийцы смогли организовать сопротивление и Ономарх был вынужден отступить[18][19][20][21].

Бюст Филиппа II. Новая глиптотека Карлсберга, Копенгаген, Дания
К этому времени относится первое сражения между Ономархом и царём Македонии Филиппом II. Македонский царь в 354 или 353 году до н. э. вторгся в Фессалию, официально чтобы помочь союзу фессалийских городов, возглавляемых Лариссой, в их войне с тиранами Фер. На этом фоне Ликофрон обратился к фокидянам. Ономарх, который в свою очередь опасался попадания Фессалии под контроль Македонии, отправил на помощь Ликофрону 7 тысяч воинов, командование над которыми поручил своему брату Фаиллу. После поражения Фаилла Ономарх прекратил бесперспективную на тот момент кампанию в Беотии и отправился в Фессалию[22]. Реконструкция дальнейших событий носит, во многом, предположительный характер. Диодор Сицилийский писал, что Ономарх привёл в Фессалию всё своё войско, чем обеспечил себе численное преимущество. В двух сражениях он победил Филиппа II и «убил многих македонян», из-за чего македонские воины упали духом и в их рядах началось массовое дезертирство. Филипп II с трудом собрал свои разрозненные силы и отвёл в Македонию[23]. Детали одного из сражений привёл в своей стратегеме Полиэн. По версии данного античного автора, Ономарх расположил на холме камнемётные орудия и, с помощью манёвра притворного отступления, заманил войско македонян в ловушку. Применение незнакомых македонянам камнемётных орудий деморализовало их, а последующее введение в бой резервов чуть не привело к окружению и полному уничтожению македонского войска. Филипп II смог вывести костяк своих сил, после чего отступил в Македонии, где начал готовиться к реваншу[24][25].
В следующем 353 или 352 году до н. э. Ономарх вновь вторгся в Беотию и, не без труда, с помощью изменников захватил второй по величине город области Коронею[26]. Аристотель привёл ряд деталей этого события. Изменники открыли Ономарху городской акрополь, в то время как остальные граждане решили принять бой. Им на подмогу пришло войско наёмников из соседней крепости. Во время битвы их военачальник был убит, а сами наёмники бежали, в то время как обычные граждане до последнего сражались на городской площади[12]. В том же году фокидяне также захватили Тильфоссей и Корсии, тем самым подчинив себе всю западную Беотию до Геликонских гор[27][28][29][30][31].
Битва на Крокусовом поле

В то время как Ономарх завоёвывал Беотию Филипп снова вторгся в Фессалию, объединил свои силы с войсками Лариссы и других городов, после чего направился к портовому полису Пагасам. Как и за год до этого ферские тираны обратились за помощью к Ономарху, и тот был вынужден прервать удачный поход в Беотию и двинулся на север. Предположительно, он рассчитывал соединить своё войско с силами Ликофрона и, возможно, афинянами, чья эскадра под командованием Хареса находилась неподалёку[33][34][35].
Чтобы не допустить соединения Ономарха с его ферскими союзниками, Филипп спешно занял позицию на полпути между Фермопильским проходом и Ферами на так называемом Крокусовом поле — обширной равнине на побережье Пагасийского залива между Фтиотийскими Фивами и Алосом[36].
Согласно Диодору Сицилийскому, союзное македоно-фессалийское войско состояло из более чем 20 тысяч пеших воинов и трёх тысяч всадников[15]. Согласно Юстину, Филипп II приказал своим воинам надеть лавровые венки, тем самым подчёркивая, что они сражаются против святотатцев одного из главных святилищ Аполлона Дельф, под покровительством божества[37][38][39]. В войске фокидян находилось 20 тысяч пеших воинов, преимущественно тяжёловооружённых гоплитов, и 500 всадников[15]. В его составе находились как фокидяне, так и многочисленный контингент наёмников, которые составляли по одной версии значительную, по другой — основную часть войска[40][41][42]. При сопоставлении сил сторон обращает на себя внимание шестикратное преобладание конницы в союзном македоно-фессалийском войске. Возможно, Ономарх надеялся на пополнение со стороны ферских тиранов и/или афинян, однако быстрота манёвров Филиппа II не дала ему возможности реализовать первоначальный план[35].
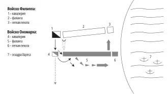
Ономарх расположил наиболее боеспособную часть своего войска — тяжёловооружённых гоплитов на правом, прибрежном, фланге. Он рассчитывал опрокинуть фалангу македонян. Как верно отметил Ономарх, береговая полоса защищала фланг от обхода кавалерией. На левом фланге, которым командовал Фаилл, он разместил всю свою немногочисленную конницу. По тактической задумке военачальника, левый фланг должен был играть второстепенную функцию, сковав конницу противника, пока его пехота будет теснить прибрежный фланг македонян[43].
На прибрежном фланге развернулся упорный бой «в правильных порядках». В это же время на противоположном фланге ситуация развивалась согласно первоначальным планам Филиппа II, которые учитывали превосходство в численности и боеспособности македоно-фессалийской конницы в сражении на равнине. После рассеивания отряда фокидских всадников на левом фланге македоняне и фессалийцы ударили в тыл и фланг строя фокидян. Они были вынуждены отступать к побережью, что закономерно нарушило строй фаланги, привело вначале к сумятице, а затем и коллапсу всей линии войска Ономарха. Основные его силы были прижаты к берегу и перебиты[44].
Согласно Диодору Сицилийскому, проигравшие фокидяне, среди которых был и Ономарх, снимали доспехи и пытались доплыть до кораблей Хареса. Шесть тысяч воинов погибли, три тысячи попали в плен, оставшиеся силы Фаилл смог отвести в Беотию. Античный историк писал, что Филипп II распорядился распять труп Ономарха, а пленных, как осквернителей дельфийского храма, утопить в море[45]. Юстин писал о паническом бегстве[46]. В изложении Павсания, Ономарх бежал, однако вскоре был убит собственными воинами, которые возложили на военачальника вину за поражение[47]. Евсевий Кесарийский цитировал Филона Иудея, согласно которому Ономарх утонул, так как его конь обезумел и бросился в морскую пучину[48].
Следующим стратегом-автократором Фокиды стал брат Ономарха Фаилл. Также, у Ономарха был сын Фалек, который возглавил Фокидский союз около 351 года до н. э.[49]
Оценки
Ономарха принято относить к «поздним тиранам» классической Греции. Он, как и другие узурпаторы этой эпохи, пришёл к власти в условиях чрезвычайной военной угрозы[50]. Диодор Сицилийский писал, что на Народном собрании Ономарх выступил за начало войны, так как она «была более желательна для него, нежели мир»[51][52].
Первым действием Ономарха на посту стратега-автократора, то есть фактического руководителя, Фокиды стало назначение соправителем брата. По мнению Г. Берве, это указывает на его желание сделать власть наследственной. Косвенно, об этом также свидетельствуют выпуски монет с его именем. В самой Фокиде Ономарх проводил репрессивную политику, казнив и конфисковав имущество своих политических оппонентов. Грабёж сокровищ Дельф при Ономархе стал носить более беззастенчивый характер, по сравнению с «займами» его предшественника Филомела. Предположительно, часть богатств Ономарх использовал в личных целях. Так, Афиней приводит цитату из несохранившихся трудов Эфора или Демофила: «Ономарх, Фаилл и Фалек выгребли всё имущество бога, но в довершение всего жёны их завладели …»[53]. Тот же автор, уже с ссылкой на Феопомпа, утверждал, что Ономарх дарил своим любовникам золотые изделия из храмовых сокровищ[54][10]. Впоследствии античные авторы связали печальный конец Ономарх с божественным провидением, карой Аполлона за его святотатство[55].
На пике своего могущества в 353 году до н. э. Ономарх стал одним из наиболее влиятельных правителей Древней Греции[56][57]. Согласно современным оценкам, Ономарх был крупным военачальником и государственным деятелем, который сумел создать крепкий, пользующийся народной поддержкой, авторитарный режим. Главным его несчастьем, по мнению К. Ю. Белоха, стало противостояние с ещё более талантливым правителем Филиппом II[58]. Историк подчёркивал, что образ Ономарха-тирана и святотатца дошёл до современников в интерпретации его победителей и, соответственно, может быть недостоверным[59].
Примечания
- ↑ Аристотель, 1983, Политика V. 3. 1; 1304a, с. 534.
- 1 2 Белох, 2009, с. 215.
- ↑ Диодор Сицилийский, 1952, XVI. 56. 2.
- 1 2 Ferguson, 1939, kol. 494.
- ↑ Полиэн, 2002, II. 38. 1, с. 117—118.
- ↑ Фролов, 2001, с. 213.
- ↑ Фролов, 2001, с. 211—214, 216.
- ↑ Диодор Сицилийский, 1952, XVI. 30—31.
- ↑ Кутергин, 1991, с. 135.
- 1 2 Берве, 1997, с. 367.
- ↑ Фролов, 2001, с. 222—223.
- 1 2 Парк, 2013.
- ↑ Уортингтон, 2014, с. 92.
- ↑ Кембриджская история древнего мира, 2017, с. 870, 1044.
- 1 2 3 Диодор Сицилийский, 1952, XVI. 35. 4.
- ↑ Диодор Сицилийский, 1952, XVI. 24. 1—5.
- ↑ Фролов, 2001, с. 229.
- ↑ Кутергин, 1991, с. 135—136.
- ↑ Фролов, 2001, с. 230.
- ↑ Белох, 2009, с. 217—218.
- ↑ Кембриджская история древнего мира, 2017, с. 871.
- ↑ Клеймёнов, 2020, с. 8—9.
- ↑ Диодор Сицилийский, 1952, XVI. 35. 2—3.
- ↑ Полиэн, 2002, II. 38. 2, с. 118.
- ↑ Клеймёнов, 2020, с. 9—14.
- ↑ Диодор Сицилийский, 1952, XVI. 35. 1—3.
- ↑ Демосфен III, 1996, XIX. 141, с. 346.
- ↑ Диодор Сицилийский, 1952, XVI. 58. 1.
- ↑ Кутергин, 1991, с. 136.
- ↑ Фролов, 2001, с. 231—232.
- ↑ Кембриджская история древнего мира, 2017, с. 873.
- ↑ Клеймёнов, 2022, с. 36.
- ↑ Фролов, 2001, с. 202.
- ↑ Уортингтон, 2014, с. 100.
- 1 2 Клеймёнов, 2022, с. 31.
- ↑ Белох, 2009, с. 339.
- ↑ Юстин, 2005, VIII. 2. 3.
- ↑ Фролов, 2001, с. 233.
- ↑ Нефёдкин, 2019, с. 656.
- ↑ Диодор Сицилийский, 1952, XVI. 35. 4, 6.
- ↑ Демосфен III, 1996, XIX. 319, с. 396.
- ↑ Клеймёнов, 2022, с. 29—31.
- ↑ Клеймёнов, 2022, с. 33—35.
- ↑ Клеймёнов, 2022, с. 35—37.
- ↑ Диодор Сицилийский, 1952, XVI. 35. 5—6.
- ↑ Юстин, 2005, VIII. 2. 4.
- ↑ Павсаний, 1996, X. 2. 5.
- ↑ Клеймёнов, 2022, с. 32.
- ↑ Кембриджская история древнего мира, 2017, с. 878.
- ↑ Фролов, 2001, с. 58.
- ↑ Диодор Сицилийский, 1952, XVI. 32. 2.
- ↑ Фролов, 2001, с. 212.
- ↑ Афиней, 2004, VI. 22; 323e, с. 294.
- ↑ Афиней, 2010, XIII. 83; 605a—b, с. 311.
- ↑ Фролов, 2001, с. 249.
- ↑ Полибий, 2004, IX. 33.
- ↑ Фролов, 2001, с. 231.
- ↑ Фролов, 2001, с. 232—233, 250.
- ↑ Белох, 2009, с. 219.
Литература
Источники
- Аристотель. Политика // Сочинения : В 4 т.. — М.: Мысль, 1983. — Т. 4. — С. 376–644.
- Афиней. Пир мудрецов. В пятнадцати книгах. Книги I—VIII / издание подготовили Н. Т. Голинкевич, М. Г. Витковская, А. А. Григорьева, О. Л. Левинская, Б. М. Никольский. Ответственный редактор М. Л. Гаспаров. — М.: Наука, 2004. — (Литературные памятники). — ISBN 5-02-010237-7.
- Афиней. Пир мудрецов. В пятнадцати книгах. Книги IX—XV / перевод с древнегреческого Н. Т. Голинкевича. — М.: Наука, 2010. — (Литературные памятники). — ISBN 978-5-02-037384-6.
- Демосфен. Речи Демосфена в 3-х томах / Перевод с греческого В. Г. Боруховича, М. Н. Ботвинника, А. И. Зайцева, В. В. Вальченко, Л. М. Глускиной, А. Я. Тыжова, И. А. Шишовой. Ответственные редакторы: Е. С. Голубцова, Л. П. Маринович, Э. Д. Фролов. — М.: Издательство РАН, 1996. — Т. III. — (Памятники исторической мысли). — ISBN 5-88451-08-X.
- Diodorus of Sicily. Books XV. 20 — XVI. 65 with an english translation by C. L. Sherman (англ.). — London: William Heinemann Ltd, 1952. — Vol. VII. — (Loeb Classical Library).
- Павсаний. Описание Эллады / Перевод и примечания С. П. Кондратьева под редакцией Е. В. Никитюк. Ответственный редактор проф. Э. Д. Фролов.. — СПб.: Алетейя, 1996. — ISBN 5-89329-006-2.
- Полибий. Всеобщая история. — ОЛМА-ПРЕСС Инвест, 2004. — 576 с. — ISBN 5-94848-201-4.
- Полиэн. Стратегемы / под общей редакцией А. К. Нефёдкина. — СПб.: Евразия, 2002. — 608 с. — ISBN 5-8071-0097-2.
- Юстин. Эпитома сочинения Помпея Трога «Historiae Philippicae» / перевод Деконского А. А. и Рижского М. И. под ред. М. Е. Грабарь-Пассек. Вст. статья К. К. Зельина. — СПб.: Издательство Санкт-Петербургского государственного университета, 2005. — 493 с. — ISBN 5-288-03708-6.
Исследования
- Белох К. Ю. Греческая история: в 2 т. / пер. с нем. М. О. Гершензона; под ред. и со вступ. ст. Ю. И. Семёнова.. — М.: Государственная публичная историческая библиотека России, 2009. — Т. 2: Кончая Аристотелем и завоеванием Азии. — ISBN 978-5-85209-215-1.
- Берве Г. Тираны Греции. — Ростов-на-Дону: Феникс, 1997. — (Исторические силуэты). — ISBN 5-222-00368-X.
- Кембриджская история древнего мира / под редакцией Д.-М. Льюиса, Дж. Бордмэна, С. Хорнблоуэра, М. Оствальда. Перевод, научное редактирование, примечания А. В. Зайкова. — М.: Ладомир, 2017. — Т. VI. Четвёртый век до нашей эры. Второй полутом. — 720 с. — ISBN 978-5-86218-542-3.
- Клеймёнов А. А. «Фессалийская конфузия» Филиппа II: локальное поражение как стимул к развитию // Тульский научный вестник. Серия История. Языкознание. — Тула: ТГПУ им. Л.Н. Толстого, 2020. — Вып. 2, № 2. — С. 6—19.
- Клеймёнов А. А. О тактике противоборствующих сторон в битве на Крокусовом поле (353 (352) г. до н.э.) // Parabellum novum: Военно-исторический журнал. — СПб.: Издатель Д. А. Скобелев, 2022. — Вып. 51, № 18. — С. 26—39.
- Кутергин В. Ф. Беотийский союз в 379 — 335 гг. до н. э.: Исторический очерк. — Саранск: Издательство Мордовского университета, 1991. — 184 с. — ISBN 5-7103-0004-7.
- Нефёдкин А. К. Конница эпохи эллинизма. — СПб.: Издательство РГПУ им. А. И. Герцена, 2019. — 784 с. — (Historia Militaris). — ISBN 978-5-8064-2707-7.
- Парк Г. В. Глава 13. Фокидские тираны // Греческие наёмники. «Псы войны» древней Эллады / Перевод книги Л. А. Игоревский. — М.: Центрполиграф, 2013. — 288 с. — ISBN 978-5-9524-5093-6.
- Уортингтон Й. Филипп II Македонский. — СПб. — М.: Евразия — ИД Клио, 2014. — 400 с. — ISBN 978-5-91852-053-6.
- Фролов Э. Д. Греция в эпоху поздней классики (Общество. Личность. Власть). — СПб.: Издательский Центр «Гуманитарная Академия», 2001. — 602 с. — (Studia classica). — ISBN 5-93762-013-5.
- Ferguson W. S. Onomarchos 1 // Paulys Realencyclopädie der classischen Altertumswissenschaft : [нем.] / Georg Wissowa. — Stuttgart : J. B. Metzler’sche Verlagsbuchhandlung, 1939. — Bd. XVIII, 1. — Kol. 493—503.