Электроплуг
Электроплу́г — механизм на электрической тяге, производящий пахоту земли. Действует при помощи стационарной лебёдки и троса, подтягивающих плуг, или при помощи установленного на плуге электродвигателя, получающего питание по кабелю из внешнего источника. Электроплуги получили некоторое распространение в 1880—1930-х годах, но не выдержали конкуренции с тракторами.
История

Паровой плуг — предшественник электроплуга
В 1856 году британский инженер и предприниматель Джон Фаулер изобрёл и запатентовал паровой плуг. Одним из вариантов использования было следующее: одна или две паровые машины с лебёдкой, приводившей в движение при помощи троса плуг — другая сторона троса крепилась к находившейся на противоположном конце поля другой паровой машине или блоку. В дальнейшем Фаулер создал компанию собственного имени для производства паровых машин и сельскохозяйственных орудий. Система получила довольно большое распространение как в Старом, так и в Новом Свете, но имела ряд недостатков: сложность в эксплуатации, большой вес, а также цена, которая в 1870 году составляла от 450 фунтов за систему с одной паровой машиной мощностью 8 л. с. до 2330 фунтов за систему из двух паровых машин мощностью по 30 л. с.[1][2] (то есть примерно от 55 000 до 285 000 фунтов 2020 года[3]). К 1907 году в Германии работало около 1000 паровых плугов, но они обрабатывали лишь около 1 % пахотной земли. Тем не менее, отдельные паровые плуги проработали в Германии до 1960-х годов[4].
Первые изобретатели
По мере развития электричества сама собой разумеющейся оказалась идея его использования в сельском хозяйстве, в том числе — для модификации парового плуга Фаулера. В 1879 году французский изобретатель Эрнест Базен запатентовал в Париже электроплуг[Комм 1][5]. В том же году два его соотечественника — некие Кретьен (фр. Chrétien) и Феликс (Félix), сотрудники сахарного завода в Сермезе, построили действующий электроплуг (был ли он создан по патенту Базена или это была их собственная разработка, неизвестно). Они подключили динамомашину к паровому двигателю завода и запитали от него две стоявшие по краям близлежащего поля лебёдки, которые приводили в движение плуг. Расстояние от динамомашины до лебёдки составляла 800 м, скорость электроплуга — 16 м/мин., производительность пахоты — 18 м2/мин[6][7].
Электроплуг в Германии

В 1880 году немецкий инженер Вернер фон Сименс совместно со своим тестем и двоюродным братом Карлом фон Сименсом разработали и запатентовали[Комм 2]электроплуг, модель которого находится в музее в Хоэнхайме[7].
В 1895 году Франц Бенсинг (нем. Fanz Bensing) из Бреслау запустил первое производство электроплугов. Он также рассчитал, что их использование в сельском хозяйстве было бы выгоднее, чем использование паровых плугов: себестоимость обработки одного гектара обошлась бы, по расчётам Бенсинга, в 19 рейхсмарок против 34 рейхсмарок при обработке паровым плугом. Экономия подразумевалась за счёт отсутствия затрат на транспортировку воды и угля[7]. По другим подсчётам, проведённым в 1898 году, стоимость обработки одного морга при помощи электроплуга обходилась в 4,7 — 5,5 рейхсмарок, при помощи парового плуга — в 6 — 10 марок, а при помощи волов — 13 марок[4].
С 1899 по 1901 годы Немецким сельскохозяйственным обществом было предпринято масштабное тестирование электроплугов в прусских государственных хозяйствах в Дальвице, Маршвице и Силлиуме. Таким образом, к 1900 году стали достаточно заметной альтернативой паровому плугу. В Германии начала XX века стоимость электроплуга мощностью 80 л. с., с двумя лебёдками, трансформатором на тележке и 800 м кабеля составляла около 70 000 рейхсмарок, что было сравнимо со стоимостью парового плуга (от 30 000 до 100 000 рейхсмарок. Несколько немецких компаний, среди которых Siemens и AEG в 1900-х годах наладили производство электроплугов. Производители преподносили свою продукцию как более технологичную и требующую меньших трудозатрат, что было важно в Германии начала XX века, где усилился отток сельского населения в города. Одновременно с этим выдвигались социальные лозунги — широкое применение электроплугов якобы должно было позволить сохранить традиции сельской Германии и остановить приток иностранных рабочих (прежде всего — поляков) на немецкие земли. Тем не менее, за всё время было продано менее 1000 единиц электроплугов всех производителей[4][7].
Развитию использования электроплугов в Германии мешала даже не столько высокая цена, сколько отсутствие централизованной подачи электричества во многих сельских районах, что вынуждало каждого фермера устанавливать собственную электростанцию от парового двигателя. Тем не менее, это дало дополнительный импульс электрическим компаниям, которые охотно взялись за производство электроэнергии не только для городских потребителей, включая заводы и фабрики, но и для сельских. В 1908 году инженер AEG Курт Кроэ (нем. Kurt Krohe) обратил внимание на то, что при дальнейшей электрификации сельских районов использование электрических машин (в том числе — плугов) оказывалась выгодно производителям электроэнергии, поскольку машины использовались преимущественно в светлое время, а освещение — в тёмное, то есть уменьшалась разница в суточных колебаниях использования электроэнергии. В 1910 годах руководитель Рейнско-вестфальской энергетической компании Бернхард Гольденберг для стимулирования использования электричества сельскими хозяйствами и внедрил ряд тарифов, которые делали электричество более доступным для сельского производства. Тем не менее, к 1913 году лишь ⅓ сельских районов Германии были электрифицированы[4][7].
В 1910 году инженер Харальд Валлем (нем. Harald Wallem) из компании Siemens-Schuckert предсказывал, что развитие электрификации сельского хозяйства вызовет не только технические, но и социальные изменения в немецкой деревне, в частности кооперацию сельскохозяйственных производителей, поскольку использование дорогостоящей техники имело смысл только в крупных сельскохозяйственных предприятиях. Однако, размер сельских хозяйств был весьма неоднороден — если к востоку от Эльбы было немало крупных хозяйств, то к западу размер фермы редко превышал 2 гектара. Внедрение новой технологии, к которой в то время относились электроплуги, требовало не только технологической, но и социальной, и ментальной трансформации общества. Крупные хозяйства внедряли использование электромоторов для приведения в действие сельскохозяйственной техники, но немногие среди этих электромоторов использовались для приведения в действие электроплугов. В результате, к 1920-м годам в Германии насчитывалось около 2000 паровых плугов и только 200 электроплугов, в дальнейшем же те и другие были заменены тракторами[4][7].

Электроплуг в СССР
После Октябрьской революции 1917 года в России в стране возникли разработки использования электроплуга. Так летом 1919 года работники Петроградской городской электростанции собрали самодельный электроплуг из лебёдок и балансирного плуга и организовали электропахоту на одном земельном участке вблизи города. Позднее технология была усовершенствована и летом 1920 года на Полюстровском участке под Петроградом были проведены новые испытания электроплуга. Позднее в том же году по инициативе Владимира Ленина была создана комиссия «Электроплуг» под руководством инженера Бориса Угримова[8][9]. В 1920 году был принят план ГОЭЛРО, в который были включены положения о необходимости использования электроплугов в сельском хозяйстве. Авторы плана самоуверенно заявляли: «…мы можем заранее предвидеть грядущую победу электроплугов над своими конкурентами — разнообразными тракторами. Там, где на поле земледельческого труда существует электрический привод, электроплуг уже и в настоящее время решительно побивает трактор[10].» К началу 1921 года комиссия «Электроплуг» приняла проект, разработанный инженером Владимиром Кочуковым и агрономом Василием Батюшковым, и передала его для производства на несколько государственных заводов: лебёдки изготавливались на Балтийском судостроительном заводе в Петрограде, плуги — на Брянском паровозостроительном, электрооборудования — на заводе «Электросила». 22 октября 1921 года на Бутырском хуторе вблизи Москвы состоялись испытания первого советского электроплуга, на которых лично присутствовали руководители советского государства — Владимир Ленин и Михаил Калинин. Ленин остался недоволен результатами испытаний, но всё же поручил премировать разработчиков и производителей электроплугов. Для дальнейших испытаний были изготовлены 20 комплектов механизма, которые были отправлены в Среднюю Рогатку под Петроградом, в Шунгенский картофелеводческий кооператив под Костромой, на поля хлопчатника в Среднюю Азию, на чайные плантации в Закавказье и в некоторые иные места[8][9]. Электроплуги показали свою несостоятельность, и их производство и разработка были в основном свёрнуты в СССР к 1925-му году, хотя вплоть до 1937 года их продолжали производить на заводе в Орловском заводе сельмашзаводе имени товарища Медведева[11][12][13]. Также в СССР использовались в некотором количестве импортные электроплуги, как например, производства немецкой фирмы Siemens-Schuckert, оснащённый перекидным восьмикорпусным балансирным плугом Kemna применялся для электропахоты в Старо-Щербинском колхозе в 1930 году[14].
После Великой Отечественной войны было решено пойти по другой технологии, и на базе гусеничного СХТЗ-НАТИ был создан электротрактор ХТЗ-12, производство которого было начато с 1952 года.
Электроплуг в других странах
Не позднее 1921 года британский фермер Ричард Борлейз Мэттьюс (англ. Richard Borlase Matthews) установил на своей ферме Грейтер Фелькорт (Greater Felcourt) вблизи Лингфилда в графстве Суррей электроплуг, причём ферма Борлейза была одной из лишь двух в Великобритании, где использовалась эта технология. Система включала в себя две лебёдки мощностью по 12 л. с., которые попеременно приводили в движение плуг. Электричество для лебёдок вырабатывала паровая машина. После нескольких лет экспериментов, к 1925 году фермер пришёл к мысли, что для эффективного использования электроплуга необходимо, чтобы им мог бы управляться всего один работник, и что электрический или паровой трактор были бы более рациональными механизмами. В 1928 году Мэттьюз опубликовал статью, в которой он, помимо прочего, поделился своим опытом использования электроплуга[15][16].

Позднейшее использование электроплуга
В послевоенное время в разных странах предпринимались попытки использования электроплугов: во второй половине 1940-х годов в Германии[17], в 1960-70-х — в Китае[18], и даже в 1980-х в США[19], но об успехе этих мероприятий ничего не известно.
В настоящее время использование электроплугов ограничено небольшими огородами, приусадебными участками и т. д.[20] Ныне существующие электроплуги производятся преимущественно небольшими предприятиями или являются самодельными[21], однако уже на протяжении нескольких лет ОАО «МогилевЛифтМаш» (Белоруссия) выпускает и успешно реализует электроплуги ЛС-10А, предназначенные для вспашки и выполнения других работ в условиях личных подсобных и малых фермерских хозяйств. Лебёдка обеспечивает глубину вспашки 300 мм и позволяет качественно обрабатывать почву при мощности электродвигателя 1500 Вт[22].
Электротрактор
В более ранних источниках к электроплугам относились также механизмы[6][11][14], которые впоследствии стали называть электротракторами[22][23].
Вероятно, впервые чертежи подобного устройства были разработаны американским инженером по фамилии Робертс в 1894 году. В отличие от традиционного электроплуга, лебёдка в системе Робертса располагалась на подвижной тележке, которая перемещалась по полю, цепляясь за натянутый трос, и производила вспашку. Электричество подавалось на лебёдку так же как и на традиционном электроплуге — по кабелю от внешнего источника. Был ли когда-либо построен и испытан образец электроплуга системы Робертса, неизвестно[6].
В Советском Союзе после Великой Отечественной войны был создан электротрактор ХТЗ-12 на базе гусеничного СХТЗ-НАТИ.
Принцип действия и особенности использования


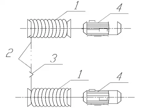
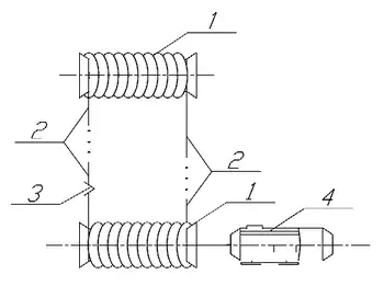
Электроплуги подразделялись на двухмашинные — с двумя лебёдками, расположенными на обоих краях поля и приводившихся в действие попеременно, и одномашинными — когда вместо второй лебёдки размещалась тележка со шкивом, называемая также намоточным барабаном[11][14][22]. «Сельскохозяйственная энциклопедия» 1935 года издания выделяла дополнительно круговой электроплуг как разновидность одномашинного[11].
При работе электроплуга один конец троса крепился к плугу, другой — к лебёдке. Лебёдки передвигались по краю поля на двойную ширину захвата плуга после каждых двух его ходов. Время перемещения плуга к противоположному концу поля использовалось для перемещения второй лебёдки в направлении перпендикулярном бороздам. Сначала включалась одна из электролебёдок и плуг приходил в движение. При двухмашинной электропахоте одновременно работала и вторая лебёдка — одна (тягловая) свой трос разматывала, другая — сматывала. Достигнув конца поля, не доходя нескольких метров до второй лебёдки или барабана (чтобы избежать столкновения, а следовательно — повреждения механизмов), лебёдка выключалась. Вследствие этого, вдоль краёв поля оставалось некоторое количество невспаханной земли. После выключения электроплуг простаивал некоторое время, необходимое для того, чтобы сбросить с плуга один трос и подсоединить второй, а также освободить из-под земли встречные корпуса плуга. После этого работник подавал сигнал другому работнику, находившемуся у противоположного конца поля, и тот включал другую лебёдку. Согласно подсчётам, приведённым в статье И. Никишина и А. Бондаренко, нетто-время работы плуга составляло 71 %, причём в простои не включалось время устранения поломок и смазки механизмов. При работе электроплугов в 1930 году требовалось 3–4 человека: 2 машиниста (по одному на каждую лебёдку), 1 плугарь и 1 чистильщик плуга (последний мог быть сокращён при работе на очень сухих почвах)[11][14].
Производительность электроплуга сильно различалась и зависела от целого ряда факторов. Для расчётов применялись несколько формул:
Формула Горячкина: , где — тягловое усилие (кг с), — коэффициент трения плуга о почву, масса плуга (кг), — ширина захвата плуга (см), — глубина пахоты (см), — коэффициент сопротивления пласта срезу для заданных, — коэффициент, характеризующий влияние скорости на сопротивление почвы, — средняя скорость движения плуга (м/с)[22]. Следствие из неё, которое позволяло, найти величину требуемой мощности: , где — к. п. д. передачи[22].
Таже использовалась формула Метьюса: , где — потребная мощность, — сопротивление почвы (кгр/дм2), — общая ширина всех одновременно вспахиваемых борозд (см), — глубина борозд (см), — скорость движения плуга (км/ч), — особый коэффициент, учитывающий ряд прочих факторов, таких как конструкция плуга, его коэффициент полезного действия, уклон поверхности поля, род и качество почвы, степень её разрыхления и т. п., опытным путём было установлено, что коэффициент обычно следует принимать равным 2[14].
Была вычислена часовая производительность электроплуга в различных условиях. Так, при скорости движения электроплуга в 3,2 км/ч (0,9 м/с), при сопротивлении почвы в 60 кг/дм2 и при глубине борозды 18 см, теоретическая производительность оказывалась следующей: для плуга мощностью 40 л. с. — 0,41 га/час, 80 л. с. — 0,82 га/час, 125 л. с. — 1,27 га/час[14].
- Электродвигатель: 3-фазного тока, 400 В
- Мощность: 90 кВт (122 л. с.)
- Расход электроэнергии на 1 га: 50–60 кВт/час
- Вес лебёдки: 16 тонн
- Скорость вращения барабана: 20–26,7 об./мин.
- Количество скоростей движения плуга: 4
- Скорости движения плуга: 1,21, 1,61, 1,67 и 2,22 м/сек.
- Глубина пахоты: 20 см
- Фактическая производительность 6-корпусным плугом при скорости 2,22 м/с.: 1,35 га/час
- Обслуживающий персонал: 3–4 чел. (по 1 на каждую лебёдку и 1–2 на плуг)
Электроплуг в сравнении
Использование электроплугов, относительный расцвет использования которых пришёлся на конец XIX — начало XX века, имело ряд особенностей и ограничений. Ниже приведены преимущества и недостатки электроплугов по сравнению с конкурирующими средствами пахоты по состоянию на начало XX века:
Сравнение электроплуга и тяглового животного
Преимущества электроплуга по сравнению с тягловыми животными были очевидны: существенно бо́льшая производительность, значит меньшая удельная стоимость обработки единицы площади пашни, как следствие — то, что благодаря производительности труда в пиковые сезоны можно было обойтись меньшим количеством работников. Также к преимуществам можно было отнести качество и глубину вспашки. С другой стороны, лошади или другие тягловые животные уже были во многих крестьянских хозяйствах, тем временем, как для установки электроплуга требовались немалые инвестиции. К недостаткам электроплуга относилась также необходимость иметь работников более высокой квалификации (для работы на плуге, но особенно — для его технического обслуживания), необходимость создания и поддержания серьёзной и дорогостоящей инфраструктуры и то, что электроплуг можно было использовать только на крупных (по мере разработки и минимизации размеров электродвигателей этот недостаток оказался преодолён) и ровных полях, в то время как лошади было под силу работать на любых участках. Наконец, вплоть до 1930-х годов технические устройства отличались малой универсальностью, а потому вплоть до 1930-х годов работали течение нескольких дней или даже часов в году, в то время как лошадь можно было использовать в течение всего года как тягловое животное не только для сельскохозяйственных машин, но и для транспортных средств[4].
Сравнение электроплуга и парового плуга
Пожалуй, единственными преимуществами парового плуга перед электроплугом было отсутствие необходимости создания на поле разветвлённой электрической инфраструктуры, а также несамоходность электроплугов, что требовало использование дополнительных транспортных средств для их доставки к месту работы. Стоимость обоих механизмов на начальном этапе развития электропахоты была примерно одинаковой, а со временем электроплуги стали дешевле паровых. К преимуществам электроплугов можно было отнести меньший вес (на 50 % и более к началу 1920-х года, далее эта разница ещё более возрастала), более простое обслуживание, возможность работы на бо́льших уклонах (паровая машина должна стоять максимально ровно, в то время как электродвигатель не имеет таких ограничений), отсутствие необходимости доставки топлива и воды[4][10].
Сравнение электроплуга и трактора
Электроплуг не производил уплотнения почвы, в отличие от первых колёсных тракторов с металлическими колёсами — после распространения гусеничных тракторов и колёсных тракторов с резиновыми шинами это преимущество исчезло. Также на первых порах, примерно до конца 1920-х годов, удельная мощность и надёжность электродвигателей была выше, чем у двигателей внутреннего сгорания — эти недостатки ДВС были преодолены по мере их совершенствования. Электричество (при условии его доступности на конкретном поле) было дешевле бензина или дизельного топлива, что по мере нивелирования остальных преимуществ осталось единственным. С другой стороны, недостатки сохранились: бо́льший размер начальных капиталовложений, необходимость создания и поддержания достаточно значительной инфраструктуры по подводу электричества к каждому полю, затруднительность и даже невозможность использования электроплуга с орудиями междурядной обработки (так как трос повреждал растения), возможность работы только на ровных участках, капризное поведение на участках с твёрдой и каменистой почвой, а главное — эффективность использования электроплугов была только на крупных сельскохозяйственных предприятиях. При этом, для функционирования электроплуга требовалось одновременное нахождение на обрабатываемом поле достаточно большого количества работников: от 5-6 человек при использовании более ранних моделей до 3-4 на более поздних моделях[4][11].
Итоги конкуренции между различными технологиями вспашки
В конечном счёте именно массовое внедрение тракторов победило остальные технологии вспашки, включая электроплуг, но это произошло небыстро — даже в наиболее передовых в этом отношении Соединённых Штатах количество тракторов превысило количество лошадей в сельском хозяйстве лишь после Второй Мировой войны и лишь благодаря правительственному стимулированию покупки тракторов, предпринятых в 1930-е годы. В Западной Германии количество тракторов превысило количество лошадей лишь в 1954 году[4].
Комментарии
Примечания
- ↑ Michael R. Lane. The Story of the Steam Plough Works: Fowlers of Leeds. — Northgate Publishing Company, 1980. — P. 15. — ISBN 9780852984147.
- ↑ Descriptive Catalogue of Fowler's Patent Agricultural Steam Machinery for Cultivating and General Purposes Manufactured by John Fowler & Co., Engineers, Steam Plough Works. — Leeds, Yorkshire, 1871. — P. 10–16, 28–29.
- ↑ Inflation calculator (англ.). Bank of England. Дата обращения: 22 июля 2021. Архивировано 5 октября 2018 года.
- 1 2 3 4 5 6 7 8 9 Edmund N. Todd. Electric Ploughs in Wilhelmine Germany: Failure of an Agricultural System : [англ.] // Social Studies of Science. — 1992. — Vol. 22, no. 2 (May). — P. 263—281.
- ↑ Michel Vaissier. Ernest Bazin : inventeur angevin. — Chouzé-sur-Loire: Feuillage, 2019. — P. 94–95. — 150 p. — ISBN 978-2-37397-080-7.
- 1 2 3 Charrue électrique à trolley : [фр.] : [арх. 1 августа 2021] // La Lumière électrique. Journal universel d'électricité : 1e série, vol. 51. — 1894. — № 1–13. — P. 581–582.
- 1 2 3 4 5 6 Max Hupfauer. Elektrifizierung der Landwirfschaff (нем.) // Bayerisches Landwirtschaftliches Jahrbuch. — 1971. — Nr. 8. — S. 871–873. Архивировано 21 июля 2021 года.
- 1 2 В. З. Есин. В. И. Ленин на электропахоте : [рус.] : [арх. 19 июля 2021] // Исторический архив. — 1956. — № 4. — С. 173–175.
- 1 2 В. И. Ленин — вдохновитель создания электропахоты : [рус.] // Техника — молодёжи. — 1949. — Август. — С. 3.
- 1 2 План электрификации Р. С. Ф. С. Р. Доклад 8-му С'езду Советов Государственной Комиссии по Электрификации России. — Москва: Государственное Техническое Издательство, 1920. — С. 131–132.
- 1 2 3 4 5 6 7 Н. Георгиевский. Электропахота // Сельскохозяйственная энциклопедия / Главный редактор В. П. Милютин. — Москва: Советская энциклопедия, 1935. — Т. 4: плуги — ящур. — С. 998–1000. Архивировано 20 июля 2021 года.
- ↑ Донецкая область, посёлок Новый Свет, В. Кощееву : [рус.] // Агитатор. — 1967. — № 1 (январь). — С. 48.
- ↑ А. Д. Хорошилов. Руководство по шестикорпусному балансирному электроплугу «Б6П-20» производства Орловского сельмашзавода имени тов. Медведева. — Москва – Ленинград: Госмашметиздат, 1932. — С. 80.
- 1 2 3 4 5 6 И. Никишин и А. Бондаренко. Электропахота : [рус.] : [арх. 3 августа 2021] // Социалистическое переустройство. — 1930. — № 4. — С. 128–146.
- ↑ R. Borlase Matthews. Electric ploughing : [англ.] // Journal of the Institution of Electrical Engineers. — 1928. — Vol. 66, № 383 (November). — P. 1180–1190.
- ↑ Michael Chappell. Greater Felcourt Farm. Now Felcourt Dairy Farm (англ.). RH7 History Group (май 2006). Дата обращения: 20 июля 2021. Архивировано 30 сентября 2015 года.
- ↑ Bundesarchiv, Bild 183-R91565.
- ↑ Leslie Tse-chiu Kuo, Leslie T. Kuo. Agriculture in the People's Republic of China Structural Changes and Technical Transformation. — Praeger, 1976. — P. 243. — 288 p.
- ↑ 1984 Rural Electric Power Conference: Papers Presented at the 28th Annual Conference, Nashville, Tennessee, May 6-8, 1984. — IEEE. — 1984. — P. 4.
- ↑ В. В. Мотузас. Ротационный электроплуг : [рус.] // Сельский механизатор. — 1990. — № 3.
- ↑ Какими бывают электроплуги и как их выбирать? Стройподсказка. Дата обращения: 29 июля 2021. Архивировано 29 июля 2021 года.
- 1 2 3 4 5 Владимир Загинайлов, Сергей Андреев. История развития, состояние м перспективы применения электромобильной техники в полеводстве : [рус.] : [арх. 29 июля 2021] // Вестник Федерального государственного образовательного учреждения высшего профессионального образования «Московский государственный агроинженерный университет им. В. П. Горячкина». — 2017. — № 6. — С. 15–17. — doi:10.26897/1728-7936-2017-6-15-22.
- ↑ Проф. М. Г. Евреинов. Электротехника в сельском хозяйстве // Энциклопедический словарь русского библиографического института Гранат. — Москва: Русский библиографический институт Гранат, 1937. — Т. 53: Электротехника — Энверий. — С. 251—263. — 8600 экз. Архивировано 4 августа 2021 года.