Эксперимент Гейгера — Марсдена
.svg.png)
Эксперимент Гейгера — Марсдена или опыт Резерфорда[1][К 1][2] — серия опытов, инициированная Резерфордом, проведённая между 1909 и 1913 годами Хансом Гейгером и Эрнстом Марсденом, которые послужили решающим доказательством планетарной модели атома. Они обнаружили отклонение альфа-частиц на большие углы при их прохождении через тонкую золотую фольгу. На углы более 90° рассеивалась только одна из 8000 альфа-частиц. Иногда наблюдалось обратное рассеяние альфа-частиц (соответствует 180°). Господствующая в то время модель атома Томсона не могла объяснить парадоксальные результаты этих экспериментов, так как вероятность рассеяния на большие углы в этой модели должна была бы быть порядка 10−3500[3].
Для объяснения рассеяния альфа-частиц на большие углы Резерфорд в своей знаменитой статье[4], опубликованной в 1911 году, предложил новую планетарную модель атома, в которой почти вся масса атома сосредоточена в крохотном, по сравнению с размерами атома, сверхплотном ядре. По результатам обработки статистики рассеяний, он, в этой же статье, приводит расчёты размера ядра атома золота, и его результат всего на 20 % отличается от современного значения.
Последний эксперимент 1913 года имел весьма важное значение для физики, так как впервые подтвердил гипотезу существования атомного ядра, что привело к дальнейшему развитию планетарной модели атома Резерфорда.
Предыстория
Предшествующие теории строения атома

Популярной теорией атомной структуры во время эксперимента Резерфорда была «модель сливового пудинга» — модель атома Томсона, хотя он сам так свою модель не называл[5]. Эта модель была разработана лордом Кельвином и доработана Дж. Дж. Томсоном. Томсон — исследователь, который открыл электрон, являющийся частью каждого атома. Томсон представлял атом в виде сферы с положительным зарядом, по которой распределены электроны, что немного похоже на изюм в рождественском пудинге[6]. О существовании протонов и нейтронов в то время не было известно. Было известно, что атомы очень крошечные (Резерфорд предположил, что их радиус порядка 10−8 м[4]). Эта модель полностью основана на классической (ньютоновской) физике и электродинамике; в то время как модель, принятая в настоящее время, использует квантовую механику[7].
Модель Томсона не была общепринятой даже до экспериментов Резерфорда. Сам Томсон так и не смог разработать полную и стабильную модель своей концепции. Японский учёный Хантаро Нагаока отвергал модель Томсона на том основании, что противоположные заряды не могут проникать друг в друга[8]. Вместо этого он предложил, что электроны должны вращаться вокруг положительного заряда, как кольца вокруг Сатурна[9].
Следствия модели сливового пудинга
Альфа-частица — это субмикроскопическая положительно заряженная частица вещества. Согласно модели Томсона, если бы альфа-частица столкнулась с атомом, она просто пролетела бы прямо насквозь, отклонившись максимум на долю градуса. В атомном масштабе понятие «твёрдое вещество» теряет смысл. Атом Томсона — это сфера с положительным электрическим зарядом, закреплённая на месте своей массой. Таким образом, альфа-частица не будет отскакивать от атома, как шар, но может пройти сквозь него, если электрические поля атома достаточно слабые, чтобы позволить это. Модель Томсона предсказывала, что электрические поля в атоме слишком слабы, чтобы сильно влиять на альфа-частицу, пролетающую сквозь него с большой скоростью. И отрицательный, и положительный заряды внутри атома Томсона распределены по всему объёму атома. Согласно закону Кулона, чем менее сконцентрирована сфера электрического заряда, тем слабее будет электрическое поле на поверхности этой сферы[10][11]

В качестве рабочего примера можно рассмотреть альфа-частицу, проходящую по касательной к атому золота в модели Томсона, где она будет испытывать самое сильное электрическое поле и, таким образом, будет испытывать максимальное отклонение на угол θ. Поскольку электроны очень лёгкие по сравнению с альфа-частицами, то их влиянием можно пренебречь, поэтому атом можно рассматривать как тяжёлую сферу с положительным зарядом[12].
- Qg — положительный заряд атома золота (79 e = 1,266⋅10−17 Кл)
- Qα — заряд альфа-частицы (2 e = 3,204⋅10−19 Кл)
- r — радиус атома золота (1,44⋅10−10 м)
- v — скорость альфа-частицы (1,53⋅107 м/с)
- m — масса альфа-частицы (6,645⋅10−27 кг)
- k — постоянная Кулона (8,998⋅109 Н·м2/Кл2)
Используя классическую физику, поперечное изменение импульса py альфа-частицы можно аппроксимировать, используя соотношение между импульсом и выражением для кулоновской силы[13][14]:
Отсюда при малых углах
Вышеприведённый расчёт — это всего лишь приближение для всего процесса того, что происходит, когда альфа-частица приближается к атому Томсона, но точный ответ для отклонения в лучшем случае будет порядка небольшой доли градуса. Если бы альфа-частица прошла через золотую фольгу толщиной около 0,4 микрометров (2410 атомов) и испытала максимальное отклонение в том же направлении (это маловероятно), то отклонение всё равно было бы небольшим[4].
Итоги экспериментов
По указанию Резерфорда Гейгер и Марсден провели серию экспериментов, в которых они направили пучок альфа-частиц на тонкую металлическую фольгу и измерили диаграмму рассеяния с помощью флуоресцентного экрана. Они заметили, что альфа-частицы отскакивают от металлической фольги во всех направлениях, некоторые прямо в направлении источника. Согласно модели Томсона, это должно было быть невозможно; все альфа-частицы должны были пройти насквозь. Очевидно, эти частицы столкнулись с электростатической силой, намного большей, чем предполагала модель Томсона. Кроме того, только небольшая часть альфа-частиц отклонялась более чем на 90°. Большинство частиц летело прямо через фольгу с незначительным отклонением[15].
Чтобы объяснить этот странный результат, Резерфорд предположил, что положительный заряд атома сосредоточен в крошечном ядре в его центре. Это, в свою очередь, означало, что большая часть объёма атома была пустым пространством[16].
История серии экспериментов
Эрнест Резерфорд был профессором физики в Университете Виктории в Манчестере[17] (ныне Манчестерский университет). Он уже получил множество наград за свои исследования радиации. Резерфорд открыл существование альфа-лучей, бета-лучей и гамма-лучей и доказал, что они были следствием распада атомов. В 1906 году его посетил немецкий физик по имени Ханс Гейгер, и Резерфорд был настолько впечатлён, что попросил Гейгера остаться и помочь ему в его исследованиях. Эрнест Марсден был студентом-физиком, который учился у Гейгера[18].
Альфа-частицы — это крошечные положительно заряженные частицы, которые самопроизвольно испускаются некоторыми веществами, такими как уран и радий. Резерфорд открыл их в 1899 году. В 1908 году он пытался точно измерить для них отношение заряда к массе (удельный заряд электрона). Для этого ему сначала нужно было узнать, сколько альфа-частиц испускает его образец радия (после чего он измерял их общий заряд и делил одну величину на другую). Альфа-частицы слишком малы, чтобы их можно было увидеть в микроскоп, но Резерфорд знал, что альфа-частицы ионизируют молекулы воздуха, и если воздух находится в электрическом поле, то ионы будут создавать электрический ток. На этом принципе Резерфорд и Гейгер разработали простое счётное устройство, которое состояло из двух электродов в стеклянной трубке. Каждая альфа-частица, прошедшая через трубку, создаёт импульс электричества, количество которых можно будет подсчитать. Это была ранняя версия счётчика Гейгера[18].
Счётчик, придуманный Гейгером и Резерфордом, оказался ненадёжным, потому что альфа-частицы слишком сильно отклонялись из-за их столкновений с молекулами воздуха внутри камеры прибора. Сильно изменяющиеся траектории альфа-частиц означали, что не все они генерировали одинаковое количество ионов при прохождении через газ, что приводило к ошибочным показаниям. Это озадачило Резерфорда, потому что он считал альфа-частицы слишком тяжёлыми, чтобы их можно было так сильно отклонить. Резерфорд попросил Гейгера выяснить, как сильно вещество может рассеивать альфа-лучи[18].
Эксперименты, которые они разработали, включали бомбардировку металлической фольги альфа-частицами, для наблюдения, как фольга рассеивает их в зависимости от толщины и свойств материала. Они использовали флуоресцентный экран для измерения траектории частиц. Каждое попадание альфа-частицы на экран производило крошечную вспышку света. Гейгер часами работал в затемнённой лаборатории, считая эти крошечные сцинтилляции с помощью микроскопа[11]. Резерфорду не хватило выдержки для этой работы, поэтому он оставил её своим младшим коллегам[19]. Что касается металлической фольги, они протестировали множество металлов, но выбрали золото, потому что из-за ковкости золота его фольгу можно сделать очень тонкой[20]. В качестве источника альфа-частиц Резерфорд использовал радон, вещество в несколько миллионов раз более радиоактивное, чем уран[7].
Эксперимент 1908 года

В статье Гейгера 1908 года «О рассеянии α-частиц материей» описан следующий эксперимент[21]. Он построил длинную стеклянную трубку, почти два метра в длину. На одном конце трубки находилось некоторое количество «эманации радия» (R), которое служило источником альфа-частиц. Противоположный конец трубки закрывали фосфоресцирующим экраном (Z). В середине трубки была прорезь шириной 0,9 мм. Альфа-частицы от источника R проходили через щель и создали на экране светящиеся пятна. Микроскоп с 50-кратным увеличением (M) использовался для подсчёта сцинтилляций на экране и их разброса. Гейгер откачал весь воздух из трубки так, чтобы альфа-частицы не слишком сильно рассеивались, и они оставили на экране яркое и чёткое изображение, соответствующее форме щели. Затем Гейгер впустил немного воздуха в трубку, и светящееся пятно стало более размытым. Затем Гейгер откачал воздух и поместил немного золотой фольги на щель AA. Это тоже привело к тому, что световое пятно на экране стало более размытым. Этот эксперимент продемонстрировал, что и воздух, и твёрдое вещество могут заметно рассеивать альфа-частицы. Аппарат, однако, позволял наблюдать только небольшие углы отклонения. Резерфорд хотел знать, рассеиваются ли альфа-частицы под ещё большими углами — возможно, более 90°[21][7].
Эксперимент 1909 года
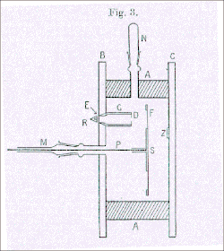
В статье 1909 года «О диффузном отражении α-частиц» Гейгер и Марсден описали эксперимент, с помощью которого они доказали, что альфа-частицы действительно могут рассеиваться на углы более 90°[22]. В своём эксперименте они приготовили небольшую коническую стеклянную трубку (AB), содержащую «излучение радия» (радон), «радий A» (настоящий радий) и «радий C» (висмут- 214); его открытый конец был запломбирован слюдой. Трубка служила излучателем альфа-частиц. Затем они установили свинцовую пластину (P), за которой они поместили флуоресцентный экран (S). Трубка удерживалась на противоположной стороне пластины, так что испускаемые ею альфа-частицы не могли напрямую попадать на экран. Они заметили несколько мерцаний на экране, потому что некоторые альфа-частицы облетали пластину, отскакивая от молекул воздуха. Затем они поместили металлическую фольгу (R) сбоку от свинцовой пластины. Они направили трубку на фольгу, чтобы увидеть, могут ли альфа-частицы отразиться от неё и ударить по экрану с другой стороны пластины, и наблюдали увеличение количества сцинтилляций на экране. Подсчитав сцинтилляции, они обнаружили, что металлы с более высокой атомной массой, такие как золото (свинец, платина), отражают больше альфа-частиц, чем более лёгкие, такие как алюминий[7].
Затем Гейгер и Марсден захотели оценить общее количество отражённых альфа-частиц. Предыдущая установка была непригодна для этого, потому что трубка содержала несколько радиоактивных веществ (радий плюс продукты его распада) и, таким образом, испускаемые альфа-частицы имели разные энергии, и потому что им было трудно определить, с какой скоростью трубка испускала альфа-частицы. На этот раз они поместили небольшое количество радия C (висмут-214) на свинцовую пластину; альфа частицы отражались от платинового отражателя (R) и попадали на экран. Они обнаружили, что только крошечная часть альфа-частиц, попавших в отражатель, отскакивала на экран (в данном случае 1 из 8000)[22].
Эксперимент 1910 года
В статье 1910 года Гейгера «Рассеяние α-частиц материей» описывается эксперимент, с помощью которого он стремился измерить, как наиболее вероятный угол, на который отклоняется α-частица, изменяется в зависимости от материала, через который она проходит, толщины фольги и скорости альфа-частиц[23]. Он построил герметичную стеклянную трубку, из которой откачивали воздух. На одном конце была лампочка (B), содержащая «излучение радия» (радон-222). С помощью ртути радон в (B) был закачан по узкой стеклянной трубе, конец которой в (A) был заполнен слюдой. На другом конце трубки находился флуоресцентный экран из сульфида цинка (S). Микроскоп, который он использовал для подсчёта вспышек на экране, был прикреплён к вертикальной миллиметровой шкале с верньером, что позволяло Гейгеру точно измерять, где на экране появляются вспышки света, и таким образом вычислять углы отклонения частиц. Ширина потока альфа-частиц, испускаемые из A, была сужена до пучка проходящего через маленькое круглое отверстие в D. Гейгер поместил металлическую фольгу на пути лучей в D и E, чтобы наблюдать изменения вспышек на экране. Он также мог изменять скорость альфа-частиц, помещая дополнительные листы слюды или алюминия в точке A.
На основании проведённых измерений Гейгер пришёл к следующим выводам:
- наиболее вероятный угол отклонения увеличивается с толщиной материала;
- наиболее вероятный угол отклонения пропорционален атомной массе вещества;
- наиболее вероятный угол отклонения уменьшается со скоростью альфа-частиц;
- для атома размера в 0,2 нм вероятность того, что частица будет отклонена более чем на 90°, исчезающе мала, что противоречит эксперименту[23][7].
Математическая модель картины рассеяния
Принимая во внимание результаты вышеупомянутых экспериментов, Резерфорд опубликовал в 1911 году знаменательную статью под названием «Рассеяние α- и β-частиц веществом и структура атома», в которой он предположил, что в центре атома содержится электрический заряд, который занимает очень малый объём (на самом деле Резерфорд в своих расчётах рассматривает его как точечный заряд)[4]. Для целей своих математических расчётов он предположил, что этот центральный заряд был положительным, но признал, что не может этого доказать и ему нужно ожидать результаты других экспериментов, чтобы уточнить свою теорию.
Резерфорд разработал математическое уравнение, описывающее рассеивание альфа-частиц фольгой, при условии, что весь положительный заряд и большая часть атомной массы сосредоточены в одной точке в центре атома[24]:72–74.

- s — количество альфа-частиц, падающих на единицу площади под углом отклонения Φ;
- r — расстояние от точки падения α-лучей на рассеивающий материал;
- X — общее количество частиц, падающих на рассеивающий материал;
- n — количество атомов в единице объёма материала;
- t — толщина фольги;
- Qn — положительный заряд атомного ядра;
- Qα — положительный заряд альфа-частиц;
- m — масса альфа-частицы;
- v — скорость альфа-частицы.
Из данных рассеяния Резерфорд оценил центральный заряд Qn примерно в +100 единиц (см. Модель Резерфорда)[4].
Эксперимент 1913 года
В статье 1913 года «Законы отклонения α-частиц на большие углы» Гейгер и Марсден описали серию экспериментов, с помощью которых они пытались экспериментально проверить модель Резерфорда. Она предсказывает, что количество вспышек в минуту s, которые будут наблюдаться под заданным углом Φ, должно быть пропорционально[25]:
- csc4(Φ/2);
- толщине фольги t;
- величине квадрата центрального заряда Qn;
- 1/(mv2)2.
В статье 1913 года описываются четыре эксперимента, с помощью которых они доказали каждое из этих четырёх соотношений.
Чтобы проверить, как рассеяние изменяется в зависимости от угла отклонения (то есть если s ∝ csc4(Φ/2)), Гейгер и Марсден построили прибор, который состоял из полого металлического цилиндра, установленного на поворотном столе. Внутри цилиндра находилась металлическая фольга (F) и источник излучения, содержащий радон (R), установленный на отдельной колонне (T), которая позволяла цилиндру вращаться независимо. Колонна также представляла собой трубку, по которой из цилиндра откачивали воздух. Микроскоп (M) с линзой объектива, покрытой флуоресцентным экраном из сульфида цинка (S), проникал через стенку цилиндра и фокусировался на поверхности металлической фольги. Поворачивая стол, микроскоп можно было перемещать по фольге на полный круг, что позволяло Гейгеру наблюдать и подсчитывать альфа-частицы, отклонённые на угол до 150°. Поправив экспериментальную ошибку, Гейгер и Марсден обнаружили, что количество альфа-частиц, отклонённых на заданный угол Φ, действительно пропорционально csc4(Φ/2)[25].
Затем Гейгер и Марсден проверили, как рассеяние изменяется в зависимости от толщины фольги (то есть если s ∝ t). Они построили диск (S) с шестью просверленными отверстиями. Отверстия закрывали металлической фольгой (F) разной толщины или вообще не закрывали для контроля. Затем этот диск был запечатан латунным кольцом (A) между двумя стеклянными пластинами (B и C). Диск можно было вращать с помощью стержня (P), чтобы какое-то из окон можно было выставить перед источником альфа-частиц (R). На заднем стекле располагался экран из сульфида цинка (Z). Гейгер и Марсден обнаружили, что количество сцинтилляций, появляющихся на экране из сульфида цинка, действительно было пропорционально толщине плёнок, когда указанная толщина была небольшой[25].
Гейгер и Марсден повторно использовали вышеупомянутый прибор, чтобы измерить, как картина рассеяния изменяется в зависимости от квадрата заряда ядра (то есть если s ∝ Qn2). Гейгер и Марсден не знали, каков положительный заряд ядер их металлов, но они предположили, что он пропорционален атомному весу, поэтому они проверили, пропорционально ли рассеяние квадрату атомного веса. Гейгер и Марсден покрыли отверстия диска фольгами из золота, олова, серебра, меди и алюминия. Они измерили тормозную способность каждой плёнки, приравняв её к эквивалентной толщине воздуха. Они подсчитали количество сцинтилляций в минуту, производимых каждой фольгой на экране и разделили количество сцинтилляций в минуту на эквивалент воздуха соответствующей фольги, а затем снова делили на квадратный корень из атомного веса (Гейгер и Марсден знали, что для фольг с равной тормозной способностью количество атомов на единицу площади пропорционально квадратному корню из их атомного веса). Таким образом, для каждого металла Гейгер и Марсден получили количество сцинтилляций, производимых фиксированным числом атомов. Затем для каждого металла они разделили это число на квадрат атомного веса и обнаружили, что отношения были более или менее одинаковыми. Таким образом, они доказали, что s ∝ Qn2[25].
Наконец, Гейгер и Марсден проверили, как рассеяние изменяется в зависимости от скорости альфа-частиц (то есть если s ∝ 1/v4). Снова используя тот же прибор, они замедлили альфа-частицы, поместив дополнительные листы слюды перед источником альфа-частиц. Они обнаружили, что в пределах экспериментальной ошибки количество мерцаний действительно пропорционально 1/v4[25].
Резерфорд определяет, что ядро заряжено положительно
В своей статье 1911 года[4] Резерфорд предположил, что центральный заряд атома положительный, но отрицательный заряд также соответствовал бы его модели рассеяния[26]. В статье 1913 года Резерфорд заявил, что «ядро» (как он теперь его называл) действительно заряжено положительно, основываясь на результатах экспериментов по изучению рассеяния альфа-частиц в различных газах[27].
В 1917 году Резерфорд со своим помощником Уильямом Кеем начали исследовать прохождение альфа-частиц через газы, такие как водород и азот. В эксперименте, в котором они облучали пучком альфа-частиц водород, альфа-частицы отбрасывали ядра водорода вперёд в направлении луча, а не в обратном направлении. В эксперименте, где они облучали альфа-частицами азот, они обнаружили, что альфа-частицы выбивают ядра водорода (то есть протоны) из ядер азота[26].
Наследие
Резерфорд был поражён, когда Гейгер сообщил о своём наблюдении сильно отклоняющихся альфа-частиц. В лекции, прочитанной Резерфордом в Кембриджском университете, он сказал[28]:
Это было самое невероятное событие, которое когда-либо происходило со мной в моей жизни. Это было почти так же невероятно, как если бы вы выстрелили 15-дюймовым снарядом по куску папиросной бумаги, а он вернулся и ударил вас. Поразмыслив, я понял, что это рассеяние назад должно быть результатом одного столкновения, и когда я проделал вычисления, я увидел, что невозможно получить что-либо такого порядка величины, если вы не возьмете систему, в которой большая часть массы атома сосредоточена в крошечном ядре. Именно тогда у меня возникла идея об атоме с крошечным массивным центром, несущем заряд.
Оригинальный текст (англ.)It was quite the most incredible event that has ever happened to me in my life. It was almost as incredible as if you fired a 15-inch shell at a piece of tissue paper and it came back and hit you. On consideration, I realized that this scattering backward must be the result of a single collision, and when I made calculations I saw that it was impossible to get anything of that order of magnitude unless you took a system in which the greater part of the mass of the atom was concentrated in a minute nucleus. It was then that I had the idea of an atom with a minute massive centre, carrying a charge.
Вскоре посыпались похвалы. Хантаро Нагаока, который когда-то предложил сатурнианскую модель атома, написал Резерфорду из Токио в 1911 году: «Поздравляю с простотой используемого вами аппарата и блестящими результатами, которые вы получили». Выводы этих экспериментов показали, как устроена вся материя на Земле, и, таким образом, повлияли на все научные и инженерные дисциплины, сделав их одним из самых важных научных открытий всех времён. Астроном Артур Эддингтон назвал открытие Резерфорда самым важным научным достижением с тех пор, как Демокрит предложил существование атома на несколько веков раньше[19].
Как и большинство научных моделей, атомная модель Резерфорда не была ни совершенной, ни законченной. Согласно классической электродинамике, это было фактически невозможно. Ускоряющиеся заряженные частицы излучают электромагнитные волны, поэтому электрон, вращающийся вокруг атомного ядра, теоретически будет спиралевидно падать на ядро по мере потери энергии. Чтобы решить эту проблему, учёным пришлось включить квантовую механику в модель Резерфорда[7]. В том же году Нильс Бор предложил решение проблемы стабильности атома водорода, в результате чего ядерная модель атома Резерфорда получила всеобщее признание[2].
Использование
Идею эксперимента напрямую используют в исследовании материалов с тяжёлыми ядрами. При облучении поверхности кристалла есть шанс на отражение альфа-частиц на большие углы и по направлению к источнику, как показали опыты Гейгера — Марсдена. В эксперименте используют альфа-частицы и ускоритель ионов до 1-3 МэВ. Измерения энергии рассеянных частиц в зависимости от угла даёт информацию об элементарном составе поверхности материала[29].
Примечания
Комментарии
- ↑ Впрочем, некоторые исследователи считают это название неправильным, так его можно отнести только к эксперименту самого Резерфорда от 1906 года (Leone et al.).
Источники
- ↑ Химия. Курс для средней школы / Пер. с англ. Семененко К. Н.. — 2-е. — М.: Мир, 1971. — С. 367.
- 1 2 Leone et al., 2018.
- ↑ Canals, Enric Pérez Canals. История квантовой физики через эксперименты = Història de la Física Quàntica a través dels experiments. — 2018. — С. 54. Архивировано 25 апреля 2021 года.
- 1 2 3 4 5 6 Rutherford E. The Scattering of α and β Particles by Matter and the Structure of the Atom (англ.) // Philosophical Magazine, Series 6 : journal. — 1911. — Vol. 21. — P. 669—688. — doi:10.1080/14786440508637080. Архивировано 12 февраля 2020 года.
- ↑ The History of the Atom – Theories and Models (англ.). https://www.compoundchem.com/. Дата обращения: 25 апреля 2021. Архивировано 25 апреля 2021 года.
- ↑ Thomson, Joseph J. (1904). On the Structure of the Atom: an Investigation of the Stability and Periods of Oscillation of a number of Corpuscles arranged at equal intervals around the Circumference of a Circle; with Application of the Results to the Theory of Atomic Structure. Philosophical Magazine. Series 6. 7 (39): 237. doi:10.1080/14786440409463107. Архивировано (PDF) 9 октября 2022. Дата обращения: 13 апреля 2021.
- 1 2 3 4 5 6 7 Baily, C. Early atomic models – from mechanical to quantum (1904–1913) // The European Physical Journal H. — 2013. — Т. 38. — С. 1—38. — doi:10.1140/epjh/e2012-30009-7. — arXiv:1208.5262. Архивировано 25 апреля 2021 года.
- ↑ Daintith, John; Gjertsen, Derek. A Dictionary of Scientists. — Oxford University Press, 1999. — P. 395. — ISBN 978-0-19-280086-2.
- ↑ Nagaoka, Hantaro (1904). Kinetics of a System of Particles illustrating the Line and the Band Spectrum and the Phenomena of Radioactivity. Philosophical Magazine. Series 6. 7 (41): 445–455. doi:10.1080/14786440409463141. Архивировано 27 ноября 2017. Дата обращения: 13 апреля 2021.
- ↑ HyperPhysics. Georgia State University. Дата обращения: 13 августа 2014. Архивировано 29 марта 2019 года.
- 1 2 Geiger and Marsden. Cavendish Laboratory. Дата обращения: 23 июля 2014. Архивировано 6 октября 2014 года.
- ↑ Jewett, John W., Jr.; Serway, Raymond A. Early Models of the Atom // Physics for Scientists and Engineers with Modern Physics. — 9th. — Brooks/Cole, 2014. — P. 1299.
- ↑ Canals, 2018, p. 53.
- ↑ Fowler, Michael. Rutherford Scattering. Lecture notes for Physics 252. University of Virginia. Дата обращения: 23 июля 2014. Архивировано 13 октября 2019 года.
- ↑ Manners, Joy. Quantum Physics: An Introduction. — CRC Press, 2000. — ISBN 978-0-7503-0720-8.
- ↑ Горелов, А. А. Концепции современного естествознания: учебное пособие для среднего профессионального образования / А. А. Горелов. — 4-е изд., перераб. и доп.. — М.: Юрайт, 2019. — С. 47. — 355 с. — ISBN 978-5-534-10214-7. Архивировано 24 июня 2021 года.
- ↑ Pais, Abraham. Inward bound : of matter and forces in the physical world. — Oxford Oxfordshire New York : Clarendon Press Oxford University Press, 1986. — ISBN 9780198519973.
- 1 2 3 Heilbron, John L. Ernest Rutherford and the Explosion of Atoms. — Oxford University Press, 2003. — ISBN 978-0-19-512378-4.
- 1 2 Reeves, Richard. A Force of Nature: The Frontier Genius of Ernest Rutherford. — W. W. Norton & Co., 2008. — ISBN 978-0-393-07604-2.
- ↑ Tibbetts, Gary. How the Great Scientists Reasoned: The Scientific Method in Action. — Elsevier, 2007. — ISBN 978-0-12-398498-2.
- 1 2 Geiger, Hans (1908). On the Scattering of α-Particles by Matter. Proceedings of the Royal Society of London A. 81 (546): 174–177. Bibcode:1908RSPSA..81..174G. doi:10.1098/rspa.1908.0067.
- 1 2 Geiger, Hans; Marsden, Ernest (1909). On a Diffuse Reflection of the α-Particles. Proceedings of the Royal Society of London A. 82 (557): 495–500. Bibcode:1909RSPSA..82..495G. doi:10.1098/rspa.1909.0054.
{{cite journal}}: Википедия:Обслуживание CS1 (множественные имена: authors list) (ссылка) - 1 2 Geiger, Hans (1910). The Scattering of the α-Particles by Matter. Proceedings of the Royal Society of London A. 83 (565): 492–504. Bibcode:1910RSPSA..83..492G. doi:10.1098/rspa.1910.0038.
- ↑ Ландау Л. Д., Лифшиц Е. М. Механика. — Издание 5-е, стереотипное. — М.: Физматлит, 2004. — 224 с. — («Теоретическая физика», том I). — ISBN 5-9221-0055-6.
- 1 2 3 4 5 6 7 Geiger, Hans; Marsden, Ernest (1913). The Laws of Deflexion of α Particles through Large Angles (PDF). Philosophical Magazine. Series 6. 25 (148): 604–623. doi:10.1080/14786440408634197. Архивировано (PDF) 24 октября 2018. Дата обращения: 13 апреля 2021.
{{cite journal}}: Википедия:Обслуживание CS1 (множественные имена: authors list) (ссылка) - 1 2 Rutherford's Nuclear World: The Story of the Discovery of the Nucleus. American Institute of Physics. Дата обращения: 23 октября 2014. Архивировано из оригинала 24 октября 2016 года.
- ↑ Rutherford, Ernest; Nuttal, John Mitchell (1913). Scattering of α-Particles by Gases. Philosophical Magazine. Series 6. 26 (154): 702–712. doi:10.1080/14786441308635014.
{{cite journal}}: Википедия:Обслуживание CS1 (множественные имена: authors list) (ссылка) - ↑ Rutherford, Ernest; Ratcliffe, John A. Forty Years of Physics // Background to Modern Science. — Cambridge University Press, 1938.
- ↑ Oura, K.; Lifshits, V. G.; Saranin, A. A.; Zotov, A. V.; Katayama, M. Surface Science: An Introduction. — Springer-Verlag, 2003. — ISBN 3-540-00545-5.
Литература
- Rutherford, Ernest (1911). The Scattering of α and β Particles by Matter and the Structure of the Atom. Philosophical Magazine. Series 6. 21 (125): 669–688. doi:10.1080/14786440508637080.
- Rutherford, Ernest (1912). The origin of β and γ rays from radioactive substances. Philosophical Magazine. Series 6. 24 (142): 453–462. doi:10.1080/14786441008637351.
- Rutherford, Ernest (1914). The Structure of the Atom. Philosophical Magazine. Series 6. 27 (159): 488–498. doi:10.1080/14786440308635117.
- Rutherford, Ernest. Radioactive Substances and their Radiations. — Cambridge University Press, 1913.
- Leone, M.; Robotti, N.; Verna, G. 'Rutherford's experiment' on alpha particles scattering: the experiment that never was // Phys. Educ.. — 2018. — Т. 53. — С. 035003. — doi:10.1088/1361-6552/aaa353.


