Фланцевая муфта


Муфта фланцевая — жёсткая (глухая) муфта постоянного соединения, которая состоит из двух выполненных в виде фланцев полумуфт, насаженных на концы валов и соединённых между собой болтами.
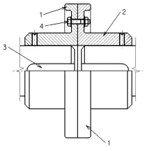
Полумуфты ведущая и ведомая (1) и (2) выполнены в виде дисков, которые установлены на концах валов с использованием шпоночного соединения (3). Обе полумуфты жёстко скреплены между собой с помощью равномерно размещённых по кругу болтов. Болты муфты могут устанавливаться с зазором (вариант I), или без зазора (вариант II). В первом случае момент Mр передаётся за счёт момента сил трения, возникающих в плоскости контакта полумуфт от усилия затяжки болтов, которые в этом случае подвергаются лишь деформации растяжения, а в другом случае — непосредственно болтами, которые подвергаются деформации среза.
Фланцевые муфты стандартизированы (ГОСТ 20761-96[1]) для валов диаметром d = 11…250 мм и крутящих моментов Mp = 8…40000 Η•м. Полумуфты изготовляют в двух исполнениях для концов валов по ГОСТ 12080-66[2]:
- 1 — с цилиндрическими отверстиями для длинных концов валов;
- 2 — с цилиндрическими отверстиями для коротких концов валов.
Полумуфты изготовляют из стали 35, стальных отливок 35Л или из чугунных отливок. Болты, устанавливаемые с зазором, преимущественно из стали СтЗ, а болты без зазора — из сталей 40, 45.
Прочность муфты определяется прочностью болтового соединения фланцев.
Если болты в муфте установлены с зазором, то по расчётам масса муфты будет намного большей, чем для варианта болтов без зазора для одного и того же крутящего момента. Однако болты, устанавливаемые без зазора, требуют повышенной точности изготовления для них отверстий в полумуфтах, и сами болты должны иметь большую точность изготовления.
Пример условного обозначения фланцевой муфты, которая передаёт номинальный крутящий момент 16 Н•м, с диаметром посадки 12 мм, с полумуфтами в исполнении 1 из стали (1), климатического исполнения У, категории 3 по ГОСТ 15150-69[3]:
- Муфта фланцевая 16-12-11-У3 ГОСТ 20761-96
См. также
Примечания
- ↑ ГОСТ 20761-96. Муфты фланцевые. Параметры, конструкция и размеры
- ↑ ГОСТ 12080-66 Концы валов цилиндрические. Основные размеры, допускаемые крутящие моменты
- ↑ ГОСТ 15150-69 Машины, приборы и другие технические изделия. Исполнения для различных климатических районов. Категории, условия эксплуатации, хранения и транспортирования в части воздействия климатических факторов внешней среды
Литература
- Поляков В. С., Барбаш И. Д., Ряховский О. А. Справочник по муфтам. Л., «Машиностроение» (Ленингр. отд-ние), 1974, 352 с.
- Анурьев В. И. Справочник конструктора-машиностроителя : в 3 т. / под ред. И. Н. Жестковой. — 8-е изд., перераб. и доп. — М. : Машиностроение, 2001. — Т. 2. — 912 с. — ББК 34.42я2. — УДК 621.001.66 (035). — ISBN 5-217-02964-1.