Газовый редуктор

Газовый реду́ктор — устройство для понижения давления газа или газовой смеси на выходе из какой-либо ёмкости (например, в баллоне или газопроводе) до рабочего и для автоматического поддержания этого давления постоянным независимо от изменения давления газа в баллоне или газопроводе. Термодинамический процесс в редукторе - дросселирование.
Принцип работы
Принцип действия редуктора определяется его характеристикой. У редукторов прямого действия — падающая характеристика, то есть рабочее давление по мере расхода газа из баллона несколько снижается, у редукторов обратного действия — возрастающая характеристика, то есть с уменьшением давления газа в баллоне рабочее давление повышается.
Редукторы различаются по конструкции, принцип действия и основные детали одинаковы для каждого редуктора.

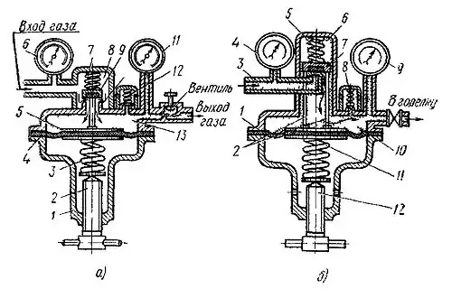
Редуктор обратного действия (рис. 1 а) работает следующим образом. Сжатый газ из баллона поступает в камеру высокого давления 8 и препятствует открыванию клапана 9. Для подачи газа в горелку или резак необходимо вращать по часовой стрелке регулирующий винт 2, который ввертывается в крышку 1. Винт сжимает нажимную пружину 3, которая в свою очередь выгибает гибкую резиновую мембрану 4 вверх. При этом передаточный диск со штоком сжимает обратную пружину 7, поднимая клапан 9, который открывает отверстие для прохода газа в камеру низкого давления 13. Открыванию клапана препятствует не только давление газа в камере высокого давления, но и пружина 7, имеющая меньшую силу, чем пружина 3. Автоматическое поддержание рабочего давления на заданном уровне происходит следующим образом. Если отбор газа в горелку или резак уменьшится, то давление в камере низкого давления повысится, нажимная пружина З сожмётся и мембрана 4 выправится, а передаточный диск со штоком 5 опустится и редуцирующий клапан 9 под действием пружины 7 прикроет седло клапана 10, уменьшив подачу газа в камеру низкого давления. При увеличении отбора газа процесс будет автоматически повторяться. Давление в камере высокого давления 8 измеряется манометром 6, а в камере низкого давления 13 — манометром 11. Если давление в рабочей камере повысится сверх нормы, то при помощи предохранительного клапана 12 произойдет сброс газа в атмосферу.
Помимо однокамерных редукторов применяют двухкамерные, в которых давление газа понижается постепенно в двух камерах редуцирования, расположенных последовательно одна за другой. Двухкамерные (двухступенчатые) редукторы обеспечивают более постоянное рабочее давление и менее склонны к замерзанию, однако они сложнее по конструкции, поэтому двухкамерные (двухступенчатые) редукторы используют тогда, когда необходимо поддерживать рабочее давление с повышенной точностью.
Редукторы прямого действия. В редукторах прямого действия (рис. 1, б) газ через штуцер 3, попадая в камеру высокого давления 6 и действуя на клапан 7, стремится открыть его (а в редукторах обратного действия — закрыть его). Редуцирующий клапан 7 прижимается к седлу запорной пружиной 5 и преграждает доступ газа высокого давления. Мембрана 1 стремится отвести редуцирующий клапан 7 от седла и открыть доступ газа высокого давления в камеру низкого (рабочего) давления 10. В свою очередь мембрана 1 находится под действием двух взаимно противоположных сил. С наружной стороны на мембрану 1 через нажимной винт 12 действует нажимная пружина 11, которая стремится открыть редуцирующий клапан 7, а с внутренней стороны камеры редуктора на мембрану давит редуцированный газ низкого давления, противодействующий нажимной пружине 11. При уменьшении давления в рабочей камере нажимная пружина 11 распрямляется, и клапан уходит от седла, при этом происходит увеличение притока газа в редуктор. При возрастании давления в рабочей камере 10 нажимная пружина 11 сжимается, клапан подходит ближе к седлу и поступление газа в редуктор уменьшается. Рабочее давление определяется натяжением нажимной пружины 11, которое изменяется регулировочным винтом 12. При вывертывании регулировочного винта 12 и ослаблении нажимной пружины 11 снижается рабочее давление и, наоборот, при ввертывании регулировочного винта сжимается нажимная пружина 11 и происходит повышение рабочего давления газа. Для контроля за давлением на камере высокого давления установлен манометр 4, а на рабочей камере — манометр 9 и предохранительный клапан 8.
В практике наибольшее распространение получили редукторы обратного действия как более удобные и безопасные в эксплуатации.
Типы газовых редукторов
- Воздушный редуктор, или регулятор — используется на промышленных предприятиях для понижения давления воздуха и поддержания его постоянным в воздушных сетях и коммуникациях, а также в водолазном деле для понижения давления дыхательной смеси
- Кислородный редуктор — используется на разного рода предприятиях (особенно много в машиностроении и металлургии) для проведения автогенных работ (газовой сварки, резки и пайки), а также в медицине и подводном плавании.
- Пропановый редуктор (прост. "лягушка") — используется на разного рода предприятиях (особенно много в машиностроении и металлургии) для проведения автогенных работ (резки, пайки и подогрева) при строительстве (для укладки битумных покрытий) или в быту (газовые плиты). Бывают с постоянно заданным рабочим давлением (устанавливается на заводе-изготовителе) и с возможностью регулировки давления в диапазоне 0-3 кгс/см2.
- Ацетиленовый редуктор — используется на разного рода предприятиях (особенно много в коммунальных хозяйствах) для газовой сварки и резки трубопроводов.
В целом газовые редукторы делятся на редукторы для горючих и негорючих газов. Редукторы для горючих газов (метан, водород и т. д.) имеют левую резьбу, чтобы предотвратить случайное подсоединение редуктора, работавшего с горючими газами, к кислородному баллону. Баллоны с инертными газами (гелий, азот, аргон и др.) имеют правую резьбу, как и баллоны с кислородом. Таким образом, для инертных газов могут использоваться кислородные редукторы.
Кроме того, редуктор может выполнять роль клапана сброса давления. В английском языке редукторы такого типа называются back pressure regulators, в отличие от обычных pressure regulators. Использование редукторов и клапанов сброса давления может быть совместным, в этом случае редуктор устанавливается на входе в систему и регулирует приток газа, тогда как клапан устанавливается на выходе и при необходимости обеспечивает сброс излишнего давления, что повышает общую стабильность системы.
Редукторы, предназначенные для установки на баллоны со сжиженными газами (углекислый газ, закись азота, пропан, бутан) могут иметь корпус с развитым оребрением для предотвращения замерзания газа на выходе. С этой же целью редукторы газобаллонных автомобилей включены в систему охлаждения двигателей внутреннего сгорания с жидкостным охлаждением, нагретая вода (или антифриз) подогревает редуктор, препятствуя его обмерзанию.
Основные параметры
Давление на входе — как правило, до 250 атмосфер для сжатых (несжижаемых) газов и 25 атмосфер для сжижаемых и растворённых газов.
Давление на выходе — типовое 1-16 атм., хотя выпускаются и другие модификации (например РК-70, имеющий на выходе давление до 70 атм.).
Расход газа — в зависимости от типа редуктора и его назначения, колеблется от нескольких десятков литров в час до нескольких сот м³/час.
ГОСТ и маркировка
Согласно ГОСТ 13861-89, редукторы для газопламенной обработки классифицируются:
- По принципу действия: на редукторы прямого и обратного действия;
- По назначению и месту установки: баллонные (Б), рамповые (Р), сетевые (С);
- По редуцируемому газу: ацетиленовые (А), водородные (В), кислородные (К) пропан-бутановые (П), метановые (М);
- По числу ступеней редуцирования и способу задания рабочего давления: одноступенчатые с пружинным заданием давления (О), двухступенчатые с пружинным заданием давления (Д), одноступенчатые с пневматическим задатчиком давления (З).
Редукторы отличаются друг от друга цветом окраски корпуса и присоединительными устройствами для крепления их к баллону. Редукторы, за исключением ацетиленовых, присоединяются накидными гайками, резьба которых соответствует резьбе штуцера вентиля. Ацетиленовые редукторы крепятся к баллонам хомутом с упорным винтом.
Литература
- ГОСТ 13861-89 Редукторы для газопламенной обработки.
- И. И. Соколов «Газовая сварка и резка металлов», Москва «Высшая школа» 1986.
- Д. Л. Глизманенко «Сварка и резка металлов», Ленинград МАШГИЗ 1954.